Improving the Efficiency of Grinding Sugar Beet in Centrifugal Beet Cutters
- Authors: Rudik F.Y.1, Bogatyrev S.А.1, Kovylin A.P.2, Tulieva M.S.3
-
Affiliations:
- Saratov State Agrarian University
- Anastasinskoe LLC
- Zhangir Khan University
- Issue: Vol 31, No 1 (2021)
- Pages: 37-55
- Section: Technologies and Means of Agricultural Mechanization
- Submitted: 23.07.2025
- Accepted: 23.07.2025
- Published: 30.03.2021
- URL: https://medbiosci.ru/2658-4123/article/view/302642
- DOI: https://doi.org/10.15507/2658-4123.031.202101.037-055
- ID: 302642
Cite item
Full Text
Abstract
Introduction. Grinding sugar beet should be carried out with minimal losses in centrifugal beet cutters with specially designed knives that provide frequent and constant chaotic longitudinal-lateral cutting of circular conductive beet knots. The objective of the work is to increase the reliability of the knives of centrifugal beet cutters by structural and technological strengthening in the process of their production and restoration.
Materials and Methods. The state of the cutting edges of the knives was determined by using the micrometric measurement of the wear and deformation of the edges. Physical and mechanical indicators were analyzed based on the values of wear resistance, microhardness, and bending endurance.
Results. The analyzes of the defective state of the knives of centrifugal beet cutters and theoretical studies of the grinding process have allowed formulating the factors affecting the permeability of the beet chips and the efficiency of their grinding with knives of a special diamond-shaped design. Experimental studies have made it possible to establish dynamically substantiated design parameters of an improved knurled knife.
Discussion and Conclusion. The proposed measures ensured an increase in the durability of knives by 27–30%, the relative wear resistance of cutting edges by 20%, the limit of endurance of cutting edges for bending by 25% and a shift increase in the length of chips by 18–20% with an increase in its permeability by 16–18%.
Full Text
Введение
Сахар необходим для обогащения организма человека углеводами. Годовое потребление этого продукта питания в России составляет порядка 5,5 млн т [1; 2]. В стране в настоящее время действует около 100 сахарных заводов с различными производственными мощностями. При этом слабым технологическим звеном при производстве сахара является процесс измельчения сахарной свеклы в стружку, от которого зависит массоотдача глюкозы и фруктозы в диффузионном аппарате [3; 4]. Качество измельчения сахарной свеклы оценивается формой и размерами измельченных частиц в центробежной свеклорезке, а они, в свою очередь, обеспечиваются использованием ножей специальной конструкции. Значительные динамические нагрузки от ударных воздействий корнеплодов свеклы на ножи и их последующее инерционное измельчение ведут к поломкам и выкрашиванию режущих граней, что в итоге ведет к значительным потерям сахарозы, доходящим до 28–30 %.
Цель работы заключается в повышении показателей безотказности и долговечности ножей центробежных свеклорезок путем конструктивно-технологического упрочнения при их производстве и восстановлении.
Задачи исследования: теоретически и экспериментально установить особенности работы и причины дефектного состояния ножей центробежных свеклорезок во взаимосвязи с качественными показателями измельчаемой стружки; усовершенствовать конструкцию режущих граней ножа с повышенными показателями выносливости на изгиб и износостойкости; разработать технологию изготовления и восстановления ножей методами объемной пластической деформации и накатки; исследовать качественные показатели свекловичной стружки в зависимости от наработки ножей.
Обзор литературы
Перерабатывающие технологии продукции растениеводства и животноводства во многом зависят от операций ее измельчения. Причем процесс измельчения зависит от биологического строения, физико-механических свойств и иных составляющих продукта измельчения [5; 6]. Качество измельчения влияет на продуктовую ценность, ресурсосбережение, себестоимость и прочие показатели производства продуктов питания [7].
Необходимость изучения технологии измельчения сахарной свеклы обусловлена прежде всего ее биологическим строением. В корнеплоде природой заложены концентрические кольца проводящих пучков, а между ними имеется рыхлая паренхимная ткань, в которой и откладываются сахара. Эта особенность строения сахарной свеклы и вызывает затруднения в высвобождении свекловичного сока с растворенной в нем сахарозой [8; 9]. Отсюда и возникли особые требования к измельчающим свеклу ромбовидным режущим инструментам, совершающим частое продольно-поперечное перемещение. При этом установлены качественные показатели свекловичной стружки: длина 11–14 м в 100 г навески измельченного продукта и площадь поперечного сечения, которая должна составлять от 1,5 до 1,7 · 10–3 м2. Соблюдение вышеуказанных параметров стружки позволяет получить ее максимальную проницаемость и, соответственно, выход сахара в диффузионной камере [10; 11]. Однако применяемые в настоящее время на сахарных заводах технологические операции измельчения свеклы в центробежных свеклорезках обладают нестабильными и низкими показателями выхода сахара [12]. Исследователями процесса измельчения корнеплодов установлены энергосиловые взаимодействия сахарной свеклы с неподвижным цилиндром и с ножевыми рамами свеклорезок [13]. При этом установлены усилия, действующие на ножи, что дало возможность характеризовать процесс измельчения как динамически жесткий [14]. В последующих исследованиях были установлены режимные показатели измельчения корнеплодов (табл. 1) [15].
Таблица 1 Показатели рабочего процесса измельчения сахарной свеклы в центробежной свеклорезке
Table 1 Indicators of the working process of grinding sugar beet in centrifugal beet cutting
Показатель /Indicator | Обозначение /Designation | Единица измерения /Unit | Значение /Value |
Угловая скорость улитки / Angular velocity | ω | рад/с /rad/s | 9,42 |
Скорость резания / Cutting speed | V | м/с / m/s | 6,59 |
Сменная производительность / Productivity | P | т/сут / t/d | 388–423 |
Число ударных воздействий на 1 нож в сутки / The number of impacts on 1 knife per day | N | цикл/сут / cicle/d | 35 255–53 887 |
Общее усилие резания / Cutting force | F | Н / N | 1 836,36–3 096,79 |
Момент от резания свеклы / Cutting moment | M | Н·м / N·m | 1 285,46–2 167,75 |
Усилие прижатия свеклы при скольжении по граням ножа / The force of pressing beet when sliding on the edges of the knife | Fn | Н / N | 8 427,88–9 193,95 |
Удельное давление свеклы при инерционном движении по режущим кромкам / Specific pressure of beet during inertial movement along cutting edges | f | Н/м / N/m | 16 594,38–18 102,96 |
Данные таблицы 1 указывают на доминирующие нагрузки, приходящиеся на нож.
Расчетно-опытным путем установлено, что нагрузки, приходящиеся на режущие грани и кромки свеклорезного ножа (рис. 1), ведут к образованию дефектов: невосстанавливаемым (деформациям и поломкам граней) и восстанавливаемым (износу режущих кромок). Износ устраняется перезаточкой режущих кромок, число которых, вследствие укорачивания длины режущих граней и изменения в связи с этим характера резания, ограничено 4-5 заточками [16].
Fig. 1. Beet cutter knife 1011-В
На этом основании предложено конструктивно-технологическое совершенствование ножей, заключающееся в изменении конструкции режущих граней с повышением их прочности на изгиб и износостойкости режущей кромки за счет внесения корректировок в технологию изготовления [17].
В работе В. Б. Морозова приводятся данные о низких показателях работоспособности ножей и о необходимости повышения их прочности [18]. Конструкция ножа с гребенчатыми режущими гранями предложена более века назад и подвергалась только незначительным совершенствованиям.
Конструкции ножа с клиновидными режущими элементами не получили широкого распространения по причинам низкого качества свекловичной стружки и сложности изготовления инструмента [19; 20].
Экспериментально установлено, что только путем повышения показателей выносливости на изгиб и износостойкости можно повысить параметры безотказности, обеспечивающие высокое качество измельчения свеклы в течение сменной наработки (рис. 2).
Fig. 2. Change the length of beet chips during the shift
В соответствии с графиком, представленным на рисунке 2, резкое снижение качества стружки наблюдается уже после 5-6 часов наработки в смену, что приводит к потере 20–28 % сахарозы. Следовательно, отказы ножа по функциональным признакам, ведущим к изменению размеров и формы стружки, и по параметрическим, связанным с ухудшением проницаемости стружки, начинают проявляться уже в середине сменной наработки. В этой связи возникает необходимость продления наработки на отказ ножей до приемлемого срока, ограниченного временем окончания смены и устранения отказа, путем перезаточки ножей.
Увеличить ресурс ножей можно за счет повышения прочности режущих кромок на изгиб. Оригинальность и обоснованность применения метода пластической деформации для изготовления и восстановления режущего инструмента, используемого в перерабатывающих отраслях промышленности, приведены в изобретениях ученых ФГБОУ ВО «Саратовский государственный аграрный университет имени Н. И. Вавилова» [21–24]. В ряде работ доказано, что режущий инструмент, используемый в пищевых производствах на предприятиях АПК и изготовленный методами горячей пластической деформации, обладает повышенной износостойкостью (на 15–20 %) и высокими показателями ресурсосбережения (коэффициент использования металла достигает 0,90–0,95) [25–27]. Перечисленные достоинства предлагаемой технологии подтверждают перспективность ее дальнейшего широкого использования.
Материалы и методы
Качество свекловичной стружки определялось уровнем проницаемости в процессе экстрагирования сахарозы, зависящей, в свою очередь, от длины стружки в 100 г навески, оптимальная длина которой должна находиться в пределах от 8 до 14 м, при этом количество брака не должно превышать 3 %.
Микрометражом определялись величины износов режущих граней по длине после каждой сменной наработки центробежной установки, а также после каждой перезаточки кромок ножей. Факты наличия короблений, выкрашиваний и усталостных поломок устанавливались визуально.
Процесс упрочнения режущих граней при их формировании методами горячей пластической деформации в штамповой оснастке и в накатном устройстве исследовался методом оценки микротвердости по глубине слоя режущих граней по срезам с интервалом 0,25 мм. Для оценки микротвердости образцов путем замера увеличенного отпечатка от алмазной пирамиды использовался прибор ПМТ-3.
Физические процессы упрочнения металла граней ножей оценивались показателями остаточных напряжений расширения или сжатия, а также плотностью дислокаций, образованных после воздействия пластической деформации. Для этих целей использовались методы рентгеноструктурных исследований.
Подсчет микронапряжений осуществлялся методом аппроксимации.
Износостойкость граней ножей исследовалась по циклу ускоренных испытаний методом моделирования условий внешнего воздействия на машине трения.
При испытаниях на выносливость на изгиб режущие грани ножа подвергались вибрационным нагрузкам на установке ВУ 5 / 5 000 с режимными характеристиками, сходными с условиями измельчения сахарной свеклы: диапазон изменения частоты колебаний от 5 до 5 000 Гц, ускорение устойчивости на изгиб 20 Н/см2, максимальная амплитуда ускорений 1,8 мм, масса испытуемых образцов до 5 кг.
Результаты экспериментальных исследований обрабатывались с использованием стандартных прикладных программ Mathcad, Eureka, Excel.
Результаты исследования
При измельчении сахарной свеклы в центробежной свеклорезке возникают значительные инерционные силы трения свеклы о режущие кромки ножей. Измельчение сахарной свеклы представляет собой процесс резания с участием касательной силы с наличием скольжения при продольном перемещении. Процесс резания ужесточается за счет цикличного ударного воздействия свеклы о режущие грани. В первом случае инерционное перемещение свеклы по граням ножа вызывает повышенный износ режущих граней, что после устранения следов износа и заточки режущих кромок вызывает уменьшение длины граней и, соответственно, ухудшение качества стружки. А во втором случае ударные нагрузки вызывают деформации граней и порождают знакопеременные колебания, ведущие к усталостным поломкам.
Дефектное состояние ножей ведет к недобору сахарозы по причине ухудшения качества стружки и необходимости частого устранения отказов.
С целью обоснования целесообразности повышения износостойкости и стойкости на изгиб исследовались динамические нагрузки, приходящиеся на режущие грани ножа (рис. 3).
Рис. 3. Сечение режущей грани ножа
Fig. 3. Section of the cutting edge of the knife
Исходя из приведенной схемы, момент инерции при резании стружки определяется из выражения:
, (1)
где a1 и a2 – шаг грани и ширина полости грани соответственно, мм:
. (2)
H1 и H2 – высота грани и высота полости грани соответственно, мм; S – площадь сечения стружки, мм2:
(3)
где С – толщина грани ножа, мм.
Момент инерции равен:
Тогда напряжения, приходящиеся на грани ножа при инерционном резании, описываются выражением:
, (5)
где Py – усилие на грани ножа от прижатия свеклы, Н; Px – усилие на преодоление реакции свеклы на внедрение в нее граней ножа, Н; l – длина стружки, мм.
На режущие грани ножа действуют следующие нагрузки:
- Сила реакции на внедрение свеклы в режущие грани:
, (6)
где R – условный радиус свеклы, мм; [σсж] – напряжение сжатия свеклы, Н.
- Сила преодоления режущей гранью изгиба стружки:
. (7)
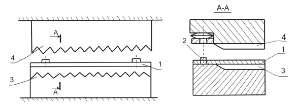
Исходя из данных расчетов усилий, приходящихся на грани ножа при измельчении сахарной свеклы в центробежной свеклорезке, принято решение о повышении усталостной прочности путем конструктивного усовершенствования граней ножей (рис. 4) [28].
1 – привалочная крепежная плоскость; 2 – кромка ножа; 3 – грань ножа; 4 – вершина
Fig. 4. Knife design with reinforced bottom and edge:
1 – mating plane; 2 – sharp edge; 3 – edge of knife; 4 – pointed top
Упрочнение режущей грани ножа обеспечивается за счет создания переменного угла заострения от режущей кромки к основанию грани. Конструктивно грань ножа 3 подвергается утолщению путем приращения заострения от основного угла β = 8–10° с последующим утолщением стенки на углы β1, создающие дополнительное заострение на 4-5° с вершиной 4 на расстоянии 1,5–2,0 толщины сечения грани от начального состояния. Режущая кромка подвергается заострению основного α и дополнительного α1 углов. Дополнительный угол заострения β2 относительно β и β1 повышает толщину грани в опасном сечении на δ = 1,2–1,5 мм, подвергаемом активному воздействию напряжений на изгиб граней по длине грани l. Данное утолщение режущих граней позволит повысить их выносливость на изгиб. Дополнительное упрочнение режущих граней и повышение их износостойкости обеспечивается за счет использования горячей пластической деформации заготовки в штамповой оснастке. Формообразование граней ножа осуществляется по схеме, представленной на рисунке 5.
Fig. 5. The scheme of forming knives in the stamp
Нагретая до 1 000 °С пластина заготовки 1 фиксируется штифтами 2 в полости зубчатой матрицы 3. Пуансон штампа с зубьями, выполненными зеркально зубьям матрицы 4, при срабатывании траверсы пресса формирует режущие грани ножа. Финишная обработка граней ножа осуществляется многофрезерной оснасткой в два прохода по каждой стороне ножа.
В разработанной оснастке, наряду со штамповкой профиля ножа при их изготовлении, возможно восстановление деформированных при работе режущих граней за счет использования дополнительных сменных формообразующих элементов матрицы и пуансона штампа.
Формообразование режущих граней и привалочной плоскости ножа обеспечивается прилагаемым к пуансону усилием деформации. С учетом особенностей конструкции ножа усилие деформации рассчитывается выражением (8):
, (8)
где σs – напряжение текучести материала заготовки, зависящее от температуры ее нагрева (рекомендуемая температура 950–1 000 °С), МПа; α – угол режущей грани ножа, град; S – площадь поперечного сечения одного сектора режущей грани, м2; n – количество режущих граней ножа, шт.
Для формообразования режущей части упрочненной конструкции ножа с переменным углом по длине грани предложена схема прокатки заготовки, полученной штамповкой, в установке со смещенными геометрическими осями вальцов (рис. 6).
Fig. 6. Scheme for shifting the axes of the rollers and deformable surfaces
Математически обоснованное смещение геометрических осей вальцов по предложенной схеме позволяет формировать постепенное с нарастающей по длине грани приращение ее толщины. Смещение геометрических осей вальцов от точки О в точку О1 обеспечивает получение лекальной деформирующей кривой на накатной установке с начальным радиусом от оси О с постепенным приращением радиуса кривизны на расстоянии L1 с координатами А(xА, yА), формирующим угол β на рисунке 4. Перемещение оси О в точку О1 сохраняет неизменным радиус R, передвигая при этом деформирующую кривую на угол β1, что в последующем от координаты В(xB, yB) обеспечивает приращение стенок граней на участке L2 , соответствующее конструктивному углу β2 на рисунке 4.
Исходя из схемы, приведенной на рисунке 6, размеры граней формируются за счет нового деформирующего профиля накатной поверхности, образуемого на расстоянии r, равном размеру смещения центра О в точку О1, и появляющихся при этом углов α, β и γ. Координата точки О1(xО1, yО1) описывается уравнением окружности:
(9)
Отсюда с учетом размера радиуса R координата yo1 определяется выражением:
. (10)
Координаты точек А и В определяются выражениями:
(11)
Тогда длины дуг L1 и L2 по рисунку 6 равны:
. (12)
А углы α, β и γ принимают зависимости:
(13)
Построение деформирующей кривой накатных вальцов по предложенной методике позволяет осуществлять прокатку режущих граней ножа за один проход. При этом для установки заготовки в вальцы в устройстве предусмотрен их отвод в замкнутом состоянии и сведение при деформации.
В соответствии с поставленными целью и задачами в работе исследовались физико-механические и структурные характеристики свеклорезных ножей с конструктивно упрочненными режущими гранями. Основные показатели, обусловливающие процесс упрочнения и повышение безотказности и долговечности, представлены в таблице 2.
Таблица 2 Физико-механические и структурные показатели режущих граней свеклорезных ножей
Table 2 Physico-mechanical and structural indicators of the cutting edges of beet cutters
№ п/п / No. i/o | Наименование исследуемого параметра /The name of the studied parameter | Исследуемые параметры /Indicators | |||||||||||
Микротвердость, МПа / Microhardness, MPa | Выносливость на изгиб, циклы нагрузки /Bending endurance, load cycles | Остаточные напряжения, МПа / Residual stresses, MPa | Плотность дислокаций, 1011 см–2 / Dislocation density, 1011 cm–2 | Структурное состояние материала режущих граней / The structural state of the material of the cutting faces | |||||||||
Глубина сечения, м·10–3 / Depth of section, m·10–3 | Время испытаний, ч / Test time, h | Глубина сечения, м·10−3 / Depth of section, m·10−3 | Глубина сечения, м·10−3 / Depth of section, m·10−3 | ||||||||||
1,0 | 0,5 | 1,0 | 72,0 | 144,0 | 1,0 | 0,5 | 1,0 | 1,0 | 0,5 | 1,0 | |||
1 | Традиционная технология / Traditional technology | 500,0 | 500,0 | 500,0 | 6,5 | 8,0 | –127,0 | –9,3 | –10,0 | 1,4 | 1,4 | 1,4 | Грубоигольчатый мартенсит / Coarse needle marternsite |
2 | Экспериментальная технология / Experimental technology | 570,0 | 550,0 | 570,0 | 7,3 | 10,5 | –57,2 | –5,1 | –67,2 | 9,6 | 8,7 | 9,6 | Скрытнокристаллический мартенсит с карбидами хрома / Crystalline martensite with chromium carbides |
В соответствии с представленными в таблице 2 данными упрочнение режущих граней ножей обеспечивается не за счет конструктивного утолщения их дна и высоты, а за счет приложения направленных усилий деформации с образованием тангенциальных линий скольжения при штамповке и накатке и, соответственно, сдвигов и двойникования структуры металла. Наряду с этим дендритное состояние макроструктуры металла при деформации превращается в мелкозернистое строение, непрерывное по всему профилю грани. Показатели плотности дислокации подтверждают факт сдвига и двойникования с искажением кристаллической решетки. Все это свидетельствует о повышении износостойкости и выносливости на изгиб режущих граней.
При проведении производственных испытаний на предмет исследования процессов изнашивания и разрушения граней ножа использовался регламент работ сахарных заводов, когда заточка и замена разрушенных ножей осуществлялись после сменной наработки центробежной свеклорезки. Данные испытаний сведены в график, представленный на рисунке 7.
в эксплуатационных условиях для традиционного и экспериментального ножей
Fig. 7. Graphs of the influence of the wear state of the length of the faces on the reliability
indicators in operating conditions for traditional and experimental knifes
Из данного графика следует, что за счет эффекта упрочнения и повышения износостойкости режущих кромок граней экспериментального ножа величина износа уменьшается на 0,1 мм и при этом из-за отсутствия выкрашивания кромки на отдельных гранях эта величина относительно постоянна. По этой причине для выравнивания граней необходимо снять 0,3 мм металла по длине режущей грани. В то же время неравномерность износа по длине традиционного ножа ведет к необходимости съема 0,5 мм, интенсивность износа и, соответственно, укорачивания длин режущих граней после наработки для различных смен непостоянна. Низкая износостойкость ведет к тому, что после 56 часов наработки ресурс ножей по параметру длины граней исчерпан полностью. При этом за тот же период наработки наблюдалось разрушение граней от воздействия напряжений на изгиб у 3 ножей.
Предельного состояния экспериментальные ножи достигают после наработки 80 часов, что говорит о повышении показателя их долговечности на 27–30 %, причем за этот период разрушению подвергся 1 нож.
Качество измельчения стружки, являющееся основным показателем работы центробежной свеклорезки, должно обеспечивать наибольшую проницаемость и выход сахарозы в диффузионном аппарате. Продолжительность наработки режущих рамок с традиционными и экспериментальными ножами представлена на рисунках 8, 9.
и экспериментального ножей
Fig. 8. Changing the length of beet chips from traditional and experimental knives
Данные результатов исследования, сведенные в графики на рисунках 8 и 9, свидетельствуют о том, что усовершенствованная конструкция режущих граней ножа и принятая технология их формирования пластической деформацией ведут к повышению износостойкости режущих кромок и выносливости на изгиб граней. После ежесменной заточки наблюдается уменьшение припуска на заточку изношенной режущей кромки экспериментального ножа, после чего в следующую смену показатель длины стружки увеличивается. Идентичные показатели традиционного ножа значительно ниже. Установлено, что повышение износостойкости режущих кромок и выносливости на изгиб граней достигает 30–35 %. Данное обстоятельство обеспечивает повышение показателя проницаемости, полученного от измельчения свеклы экспериментальным ножом, и, соответственно, выход сахарозы в диффузионном аппарате.
Обсуждение и заключение
В результате теоретических исследований установлены конструктивно-технологические направления повышения износостойкости режущих кромок и выносливости на изгиб граней ножей к центробежным свеклорезкам. При этом доказана гипотеза возможности повышения выхода сахарозы из свекловичной стружки за счет повышения качества измельчения свеклы путем увеличения параметров работоспособности при устранении отказов.
Экспериментальные исследования позволили обосновать конструкции оснастки для штамповки заготовок ножей и накатки режущих граней. Проведены их производственные испытания, показавшие высокие технологические и ресурсосберегающие возможности предлагаемого метода упрочнения режущих граней свеклорезных ножей. Физико-механическими и структурными исследованиями установлено, что за счет повышения износостойкости и прочности на изгиб режущих граней повышается долговечность ножей на 27–30 %, что позволяет значительно повысить качественные показатели свекловичной стружки.
About the authors
Feliks Ya. Rudik
Saratov State Agrarian University
Email: k-pappsgau@rambler.ru
ORCID iD: 0000-0001-8444-0115
ResearcherId: E-8546-2018
Professor of the Chair of Technologies of Food Products, D.Sc. (Engineering)
Russian Federation, 1 Theatre Sq., Saratov 410012Sergey А. Bogatyrev
Saratov State Agrarian University
Author for correspondence.
Email: tettet@inbox.ru
ORCID iD: 0000-0001-7538-2937
ResearcherId: B-3273-2019
Professor of the Chair of Project Managment and Foreign Economic Activity in the Agroindustrial Complex, D.Sc. (Engineering)
Russian Federation, 1 Theatre Sq., Saratov 410012Anatoliy P. Kovylin
Anastasinskoe LLC
Email: kaf-papp@sgau.ru
ORCID iD: 0000-0001-8657-5240
Engineer
Russian Federation, 6 Tsentralnaya St., Anastasino 412468Madina S. Tulieva
Zhangir Khan University
Email: madina81@mail.ru
ORCID iD: 0000-0002-6552-6527
Associate Professor of the Chair of Food Processing Technology, Ph.D.
Kazakhstan, 51 Zhangir Khan St., Uralsk 090009References
- Dolmatova I.A., Zaytseva T.N., Ryabova V.F. [Physiological Effects of Food Substances]. Aktualnye problemy sovremennoy nauki, tekhniki i obrazovaniya = Current Problems of Modern Science, Technology and Education. 2019; 10(1):139-142. Available at: https://magtu.ru/servisy-sajta/fajlovyj-arkhiv/ send/393-aktualnye-problemy-sovremennoj-nauki-tekhniki-i-obrazovaniya/9924-1-2019.html (accessed 28.01.2021). (In Russ.)
- Kulneva N.G., Putilina L.N., Lazutina N.A. Resource-Saving Technology of SugarBeet Processing. Sakharnaya svekla = Sugar Beet. 2019; (10):32-36. (In Russ.) DOI: https://doi.org/10.25802/SB.2019.28.41.006
- Kulneva N.G., Golibin V.A., Mantulin A.M., et al. [Sucrose Losses in Sugar Beet Production and Ways to Reduce Them]. Sakhar = Sugar. 2011; (2):42-46. Available at: http://saharmag.com/fix/magazine/archive/archive_11.html (accessed 28.01.2021). (In Russ.)
- Golybin V.A., Fedoruk V.A., Lavrenova M.A., et al. Ways to Improve Energy Efficiency of SugarProduction. Vestnik Voronezhskogo gosudarstvennogo universiteta inzhenernykh tekhnologiy = Proceedings of the Voronezh State University of Engineering Technologies. 2014; (1):185-188. Available at:https://www.vestnik-vsuet.ru/vguit/article/view/734 (accessed 28.01.2021). (In Russ.)
- Syapukov E.E., Kostin V.I., Isaichev V.A. Growth Processes and Dynamics of Sugar Accumulation in Sugar Beet Roots. Vestnik Ulyanovskoy gosudarstvennoy selskokhozyaystvennoy akademii = Vestnik of the Ulyanovsk State Agricultural Academy. 2017; (1):66-71. (In Russ.) DOI: https://doi.org/10.18286/1816-4501-2017-1-66-71
- Kulneva N.G., Selezneva I.G., Sveshnikov I.Yu. Control of Sugar Beet Indicators of Different Quality during Storage. Khranenie i pererabotka selkhozsyirya = Storage and Processing of Farm Products. 2017; (4):32-34. Available at: https://www.elibrary.ru/item.asp?id=29204156 (accessed 28.01.2021). (In Russ.)
- Kulneva N.G., Shvetsov A.A., Shmatova A.I. [On the Formation of the Quality of Granulated Sugar]. Tovaroved prodovolstvennykh tovarov = Food Merchandiser. 2016; (6):48-51. Available at: https://www.elibrary.ru/item.asp?id=27208695 (accessed 28.01.2021). (In Russ.)
- Kulneva N.G., Selezneva I.G., Sveshnikov I.Yu., et al. Ways to Ensure the Quality of Domestic Raw Materials for the Production of Sugar. Ekonomika. Innovatsii. Upravlenie kachestvom = Economics.Innovation. Quality Management. 2016; (4):46-47. Available at: https://www.elibrary.ru/item.asp?id=28807421 (accessed 28.01.2021). (In Russ.)
- Kulneva N.G., Kuchmenko T.A. [An Alternative Method for Sensory Analysis of Sugars in Sugar Production]. Sakhar = Sugar. 2019; (4):60-65. Available at: http://saharmag.com/fix/magazine/jotnal_148.html (accessed 28.01.2021). (In Russ.)
- Sapronov A.R., Alavad Y.I., Krivovoz B.G. Production and Using of Sugar. Sakhar = Sugar. 2006;(8):44-45. Available at: https://www.elibrary.ru/item.asp?id=9293647 (accessed 28.01.2021). (In Russ.)
- Sapronov A.R., Vovk G.A, Krivovoz B.G., et al. Optimum Treatment of Raw Sugar. Sakhar = Sugar.2006; (9):48-52. Available at: https://www.elibrary.ru/item.asp?id=9309988 (accessed 28.01.2021). (In Russ.)
- Antipov S.T., Nikiforov A.V., Panfilov V.A. Advanced Engineering Education and Food Technology Engineering. Industriya pitaniya = Food Industry. 2019; 4(2):51-57. (In Russ.) DOI: https://doi.org/10.29141/2500-1922-2019-4-2-7
- Lyulka A.N., Mironchuk V.G., Adamenko O.V., et al. [Beet Chips of Triangular Cross-Section:Obtaining and Advantages]. Sakhar = Sugar. 2014; (1):40-43. Available at: http://saharmag.com/fix/magazine/jotnal_70.html (accessed 28.01.2021). (In Russ.)
- Panfilov V.A., Andreev S.P. Engineering of Complex Technological Systems in the Agroindustrial Complex. Foods and Raw Materials. 2018; 6(1):23-29. (In Eng.) DOI: https://doi.org/10.21603/2308-4057-2018-1-23-29
- Rudik F.Ya., Bogatyrev S.A. Analysis of Working and Weared Conditions of Centrifugged Sticker Knives. Agrarnyy nauchnyy zhurnal = Agrarian Scientific Journal. 2018; (3):47-50 (In Eng.) DOI: https://doi.org/10.28983/asj.v0i3.341
- Rudik F.Ya., Skryabina L.Yu., Kovylin A.P. Defect State of Knives for Centrifugal Beet Cutters and Increase in Their Fatigue Resistance. Remont, Vosstanovlenie, Modernizatsiya = Repair, Reconditioning,Modernization. 2014; (8):22-26. Available at: http://www.nait.ru/journals/number.php?p_number_id=2064 (accessed 28.01.2021). (In Russ.)
- Rudik Ph.Ya., Skryabina L.Yu., Kovylin A.P. Reliability Indexes of Knives for Crushing Sugar Beet. Nauchnoe obozrenie = Scientific Review. 2012; (6):160-163. Available at: https://www.elibrary.ru/item.asp?id=18736866 (accessed 28.01.2021). (In Russ.)
- Morozov V.B. The Analysis of Technological Operation of Crushing in Sugar Production from a Beet. Izvestiya TulGAU. Tekhnicheskie nauki = Proceedings of the Tula State Agrarian Academy. TechnicalSciences. 2013; 6(1). 7 p. Available at: https://clck.ru/SzjZv (accessed 28.01.2021). (In Russ.)
- Beet-Root Cutter: Patent 2053302 Russian Federation. No. 94007840; appl. 01.03.1994; publ.27.01.1996. 7 p. Available at: https://patents.s3.yandex.net/RU2053302C1_19960127.pdf (accessed 28.01.2021). (In Russ.)
- [Disc Beet Cutter]: Patent 2156303 Russian Federation. No. 99120580/13; appl. 28.09.1999; publ.20.09.2000. 4 p. Available at: http://www.freepatent.ru/patents/2156303 (accessed 28.01.2021). (In Russ.)
- Method of Making Cutting Tools: Patent 2087238 Russian Federation. No. 95121387; appl.18.12.1995; publ. 20.07.1997. 6 p. Available at: https://yandex.ru/patents/doc/RU2087238C1_19970820(accessed 28.01.2021). (In Russ.)
- Method of Making Beet Cutting Knives: Patent 2096120 Russian Federation. No. 96110426; appl.27.05.1996; publ. 20.11.1997. 5 p. Available at: https://yandex.ru/patents/doc/RU2096120C1_19971120(accessed 28.01.2021). (In Russ.)
- Stamp for Restoration of Cross-Shaped Knives: Patent 2136471 Russian Federation.No. 98106326/02; appl. 06.04.1998; publ. 10.09.1999. 6 p. Available at: https://yandex.ru/patents/doc/RU2136471C1_19990910 (accessed 28.01.2021). (In Russ.)
- Method to Restore Worn-Out Four-Wing Knife: Patent 2533236 Russian Federation.No. 2013138261/02; appl. 15.08.2013; publ. 20.11.2014. 4 p. Available at: http://www.freepatent.ru/images/img_patents/2/2533/2533236/patent-2533236.pdf (accessed 28.01.2021). (In Russ.)
- Chopper Knife: Patent 2157734 Russian Federation. No. 99204382/13; appl. 05.03.1999;publ. 20.10.2000. 5 p. Available at: https://yandex.ru/patents/doc/RU2157734C1_20001020 (accessed 28.01.2021). (In Russ.)
- Apparatus for Rolling Variable-Profile Products: Patent 2174056 Russian Federation.No. 991204201/02; appl. 29.09.1999; publ. 27.09.2001. 6 p. Available at: https://yandex.ru/patents/doc/RU2174056C2_20010927 (accessed 28.01.2021). (In Russ.)
- [Device for the Production of Cutting Tools]: Patent 150113 Russian Federation.No. 2014116686/02; appl. 24.04.2014; publ. 27.01.2015. 8 p. Available at: https://yandex.ru/patents/doc/RU150113U1_20150127 (accessed 28.01.2021). (In Russ.)
- [Beet Cutter Knife]: Patent 130542 Russian Federation. No. 2013105418/02; appl. 08.02.2013;publ. 27.07.2013. 6 p. Available at: https://yandex.ru/patents/doc/RU130542U1_20130727 (accessed 28.01.2021). (In Russ.)
Supplementary files



























