Результаты лабораторных исследований просеваемости почвы пруткового элеватора с асимметричным расположением встряхивателей и регулируемым углом наклона полотна
- Авторы: Сибирёв А.В.1, Дорохов А.С.1, Аксенов А.Г.1, Мосяков М.А.1
-
Учреждения:
- ФГБНУ «Федеральный научный агроинженерный центр ВИМ»
- Выпуск: Том 31, № 3 (2021)
- Страницы: 380-402
- Раздел: Технологии и средства механизации сельского хозяйства
- Статья получена: 01.08.2025
- Статья одобрена: 01.08.2025
- Статья опубликована: 05.08.2025
- URL: https://medbiosci.ru/2658-4123/article/view/303570
- DOI: https://doi.org/10.15507//2658-4123.031.202103.380-402
- ID: 303570
Цитировать
Полный текст
Аннотация
Введение. Увеличение выхода товарной продукции с занимаемой площади вегетации как овощных корнеплодов, так и всей сельскохозяйственной продукции способствует повышению нагрузки на машинно-технологический комплекс при выполнении уборочных работ. Это обусловлено отсутствием функционирующих элементов в конструкции машинно-технологических комплексов, определяющих качественное отделение поступающего на обработку вороха. Цель исследования – выявление участков с минимальной величиной просеивания почвы на поверхности пруткового элеватора в зависимости от угла наклона полотна, а также разработка рекомендаций и предложений по повышению полноты сепарации.
Материалы и методы. Описана методика лабораторных исследований пруткового элеватора с регулируемым углом наклона полотна при асимметричном расположении встряхивателей, а также изложены результаты изучения просеиваемости почвы на рабочей поверхности. Использовалась методика комплексной оценки качества выполнения и стабильности технологических операций на основе количественных критериев оптимизации.
Результаты исследования. Наибольшее значение массы просеянной почвы наблюдается на участке затухания длины волны рабочей ветви пруткового элеватора 1 020 мм от воздействия эллиптического встряхивателя при угле наклона полотна 5 град.
Обсуждение и заключение. Прутковый элеватор с асимметричным расположением встряхивателей и регулируемым углом наклона полотна пруткового элеватора повышает просеивание почвы по всей длине полотна на 10 %, а следовательно, увеличивает полноту сепарации корнеплодов от почвенных примесей.
Полный текст
Введение
Современные исследования машинного производства корнеплодов и лука не в полной мере решает проблему наличия почвенных и растительных примесей при закладке товарной продукции на хранение [1–4]. Конструктивное исполнение сепарирующих поверхностей машин для уборки корнеплодов и лука с различными видами интенсификаторов повышает качество уборки механических примесей в товарной продукции [5–7]. Однако использование данных рабочих органов приводит к повышению травмируемости овощной продукции, что происходит из-за отсутствия функционирующих элементов в конструкции машинно-технологических комплексов, определяющих качественное отделение поступающего на обработку вороха [8–11].
Данное обстоятельство обусловлено сильным развитием плужной подошвы при производстве корнеклубнеплодов, выраженным плотным горизонтом, что препятствует проникновению воды вглубь почвы, а также затрудняет развитие корнеклубнеплодов [12–15].
Плотность почвы зависит от гранулометрического и минерального состава, структуры и содержания гумуса, поэтому исключить образование плотных почвенных слоев, формирующих почвенные комки при взаимодействии с корнеизвлекающими устройствами, не представляется возможным. Необходимо обеспечить разработку машин и технологий, способствующих отделению механических примесей на функционирующих элементах машинно-технологических комплексов для уборки овощных корнеклубнеплодов [16–19].
Цель исследования – выявление участков с минимальной величиной просеивания почвы на поверхности пруткового элеватора в зависимости от угла наклона полотна, а также разработка рекомендаций и предложений по повышению полноты сепарации.
Обзор литературы
Для снижения вероятности попадания на устройства для очистки уборочных машин почвенных примесей совместно с товарной продукцией сконструированы рабочие органы для извлечения корнеплодов из почвы. К основным признакам данных устройств следует отнести наличие рабочей поверхности, выполненной в виде прутковой поверхности (рис. 1), что способствует предварительной сепарации на этапе извлечения [20; 21].
1 – рама; 2 – кронштейн; 3 – элемент подкапывающий
Fig. 1. General view of a burrowing share with a rod surface:
1 – frame; 2 – bracket; 3 – dripping element
Следует отметить, что данное конструктивное исполнение подкапывающего рабочего органа не в полной мере способствует уменьшению примесей на этапе извлечения корнеплодов из почвы [22; 23].
В настоящее время сепарирующие поверхности машин для уборки корнеплодов и лука разрабатываются с различными видами интенсификаторов, обеспечивающих повышение качества уборки [24–27].
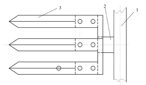
Сепарирующая поверхность пруткового элеватора выполнена с возможностью изменения амплитуды колебания полотна пруткового элеватора 2 перемещением рычага регулировки амплитуды 4 по направляющей 5 (рис. 2) для интенсификации процесса сепарации вороха корнеплодов и лука [5; 28‒30]
2 – полотно прутковое; 3 – встряхиватель; 4 – рычаг регулировки амплитуды; 5 – направляющая
Fig. 2. Separating chain digger: 1 – reversing rubber wheel; 2 – separation sieve; 3 – web agitators;
4 – front adjustment rubber wheel; 5 – guide
Основным назначением механизма изменения амплитуды колебания полотна пруткового элеватора 2 при влиянии на рабочую поверхность трехплечикового встряхивателя 3 является интенсивное воздействие на обрабатываемый ворох почвенно-растительных примесей. Его наличие обусловлено отрицательным инерционным воздействием от силы тяжести, что может травмировать товарную продукцию.
Одним из лимитирующих факторов, способствующих повышению качества уборки корнеклубнеплодов и лука, является несовершенство конструкции рабочих органов, что подтверждают результаты исследований технологического процесса подкапывания клубненосного вороха [6], свидетельствующие о снижении полноты очистки при повышении подачи вороха на сепарирующие устройства уборочной машины при увеличении глубины подкапывания и поступательной скорости движения (рис. 3).
1, 2, 3, 4 – глубина подкапывания 6,0, 4,0, 2,5, 1,0 см
Fig. 3. Dependence plot of the separation coefficient ε on the supply of the heap Q:
1, 2, 3, 4 – digging depth 6.0, 4.0, 2.5, 1.0 cm
Полученные А. А. Сорокиным эмпирические зависимости направлены на проектирование щелевых рабочих органов, определяющих качественные показатели очистки без устройств, интенсифицирующих процесс сепарации [7]. Следовательно, проектирование, разработка и изготовление устройств первичной и вторичной очистки с установленными интенсификаторами сепарации современных машин для уборки корнеклубнеплодов на основании ранее полученных исследований не представляются возможными.
Для качественной уборки товарной продукции в современных условиях производства, в соответствии с агротехническими требованиями, необходимо не только дополнительное оснащение сепарирующих рабочих органов различными типами устройств, интенсифицирующими процесс очистки, но и определение закономерностей процесса сепарации при проектировании функционирующих элементов очистки. [5].
Данное обстоятельство связано с неудовлетворительным процессом просеивания почвенных примесей на наиболее распространенном рабочем органе первичной сепарации – прутковом элеваторе [6].
В ФГБНУ «Федеральный научный агроинженерный центр ВИМ» разработан сепарирующий прутковый элеватор с асимметричным расположением встряхивателей, обеспечивающий повышение качества очистки при снижении повреждений корнеклубнеплодов, конструктивное исполнение которого было представлено ранее [5; 6].
Известно, что сепарирующая способность пруткового элеватора зависит от угла наклона α и скорости движения элеватора Vэл (рис. 4).
пруткового элеватора α и поступательной скорости движения Vэл
Fig. 4. The dependence of the separation coefficient of the rod elevator ε on the angle of inclination
of the rod elevator α and travel speed Vэл
Определено, что повышение коэффициента сепарации ε до предельного положительного значения определяется при пропорциональной зависимости увеличения поступательной скорости Vэл движения очистительного устройства с щелевой рабочей поверхностью до предельного значения, достижение которого приводит к ухудшению вышеназванного показателя качества уборки.
При этом наиболее предпочтительным интервалом поступательной скорости движения сепарирующих устройств машин для уборки корнеклубнеплодов и лука является значение 2,0–2,5 м/с, при исключении неравномерности распределения вороха по рабочей поверхности очистительного рабочего органа.
Высокие технологические показатели машинной уборки корнеклубнеплодов и лука приводят к снижению качества технологического процесса. Следовательно, необходимы исследования по выявлению участков с минимальной величиной просеивания почвы на поверхности пруткового элеватора в зависимости от угла наклона полотна, а также разработка рекомендаций и предложений по их повышению.
Результаты исследования позволят разработать очистительные функционирующие элементы машинно-технологических комплексов для уборки корнеклубнеплодов и лука при известных величинах просеваемости почвы по длине и ширине рабочего органа с щелевой поверхностью в установленных значениях подачи вороха на обработку.
Материалы и методы
Определение закономерности процесса очистки на представленных выше функционирующих элементах уборочных машин производилось на лабораторной установке (рис. 5) [6; 24].
параметров сепарирующего пруткового элеватора на качественные показатели сепарации вороха лука-севка:
8 – редуктор одноступенчатый; 9 – преобразователь частотный; 10 – передача цепная; 11 – стойки опорные; 12 – стойки встряхивателей; 13 – кронштейн соединительный; 14 – плита опорная; 15 – устройство сбора примесей [1; 5]
Fig. 5. Laboratory installation for determining the impact of the process parameters of the separating
rod elevator on the quality of onion set heap separation: 1 – frame; 2 – container for preliminary heap placement;
Под верхней рабочей ветвью щелевого функционирующего элемента 3 установлены интенсификаторы сепарации, представляющие собой эллиптический встряхиватель 4 и поддерживающий ролик 5 с вариантом изменения расположения по длине полотна щелевого функционирующего элемента 3 по раме 1 на стойках встряхивателей 12 с закреплением соединительного раме 13 на раме 1.
Для определения массового и фракционного состава почвы на сходе с щелевого функционирующего элемента 3 в конструкции лабораторного стенда предусмотрен брезент сепарированной продукции 6 для сбора примесей.
Изменение угла наклона щелевого функционирующего элемента 3 осуществлялось перемещением стоек 11 по раме 1 фиксированием болтовым соединением.
Для определения количества просеянной почвы через щелевой функционирующий элемент 3 под его поверхностью установлено устройство сбора примесей 15, схема которого представлена на рисунке 6.
Fig. 6. General view of the impurity collector: 1 – metal tray; 2 – partition; 3 – cell
Устройство для сбора примесей (рис. 6) представляет из себя металлический лоток 1 длиной Ly = 2 040 мм и шириной Вy = 1 020 мм. Данные показатели превышают соответствующие величины пруткового элеватора.
Поверхность металлического лотка 1 разделена по длине и ширине перегородками 2, образующими ячейки 3 c высотой Нy и размерами 170 × 170 × 100 мм. Каждая ячейка для определения места просеивания почвы по поверхности пруткового элеватора имеет свой порядковый номер.
Исследования по определению закономерности процесса сепарации почвенных примесей на прутковом элеваторе с асимметричным расположением встряхивателей проводились при минимальной подаче вороха лука-севка Qвп = 10 кг/с [9]. Достижение предельного значения подачи Qвп = 30 кг/с выполнялось с интервалом варьирования в 10 кг/с при изменении поступательной скорости движения функционирующего элемента Vэл с щелевой рабочей поверхностью. Серия экспериментов проводилась при изменении межосевого расстояния S1 между пассивным эллиптическим встряхивателем 4 и поддерживающим роликом 5 (рис. 5) при установленных режимных и технологических параметрах для исследуемого значения подачи вороха Qвп = 10, 20, 30 кг/с [1; 9].
Методика проведения исследований заключалась в следующем. Проба почвы с определенным весом и влажностью укладывалась на поверхность емкости 2 для предварительного размещения вороха. Требуемая влажность почвы создавалась гидравлическим воздействием с последующей выдержкой по времени для получения верхнего значения искомой влажности почвы. Под щелевым функционирующим элементом 3 устанавливалось устройство для сбора примесей 15.
Оптимальные значения поступательной скорости движения пруткового элеватора Vэл и межосевого расстояния между пассивным эллиптическим встряхивателем 4 и поддерживающим роликом 5 S1 установили в соответствии с результатами проведенных лабораторных исследований.
Выполнялась требуемая синхронная работа частотного преобразователя 9 и электродвигателя 7. Проба почвенных примесей подавалась при равномерном движении сепарирующего рабочего органа 3 из емкости для предварительного размещения вороха 2. Электродвигатель 7 отключали после прохождения почвенных примесей через сепарирующую поверхность пруткового элеватора 2 при исследуемом значении подачи почвенных примесей Qвп.
Далее из каждой ячейки устройства для сбора примесей 15 извлекалась почва и взвешивалась на весах модели МК-15.2-А21 (рис. 7).
Рис. 7. Весы электронные настольные МК-15.2-А21: 1 – колба стеклянная; 2 – весы электронные настольные
Fig. 7. Electronic desktop scales MK-15.2-A21: 1 – a glass bulb; 2 – electronic table scales
По результатам взвешивания просеянной почвы, изъятой из каждой ячейки устройства для сбора примесей и прошедшей через щелевые отверстия пруткового элеватора, определялась зависимость массы просеянных почвенных примесей Kпр по длине Lэл и ширине Вэл пруткового элеватора:
f(Kпр) = Qвп, Vэл = const;
S1 = const; α = const. (2)
Кроме того, определялся коэффициент сепарации почвенных примесей Kc на прутковом элеваторе с асимметричным расположением встряхивателей по его длине Lэл и ширине Bэл:
Kc = (mпр / mпост) ∙ 100 %, (3)
где mпр – масса просеянных почвенных примесей (в устройстве сбора примесей), кг; mпост – масса поступивших почвенных примесей, кг.
Результаты исследования
Результаты проведенных исследований заносились в журнал наблюдений и представлены в таблицах 1–8.
Таблица 1 Результаты исследований по определению массы просеянных почвенных примесей Kпр по поверхности пруткового элеватора при Qвп = 10 кг/с, Vэл = 1,6 м/с, S1 = 0,4 м, α =10 град
Table 1 Results of research to determine the weight of screened soil impurities Kпр along the rod elevator surface
at Qвп = 10 kg/s, Vэл = 1.6 m/s, S1 = 0.4 m, α = 10 gon
Ширина пруткового элеватора Вэл, мм / Chain Digger Width Вэл, mm | Длина пруткового элеватора Lэл, мм / Chain Digger Length Lэл, mm | Итого, кг / Total, kg | |||||||||||
170 | 340 | 510 | 680 | 850 | 1 020 | 1 190 | 1 360 | 1 530 | 1 700 | 1 870 | 2 040 | ||
170 | 0,03 | 0,04 | 0,13 | 0,15 | 0,13 | 0,16 | 0,06 | 0,07 | 0,08 | 0,09 | 0,10 | 0,08 | 9,93 |
340 | 0,05 | 0,07 | 0,15 | 0,18 | 0,15 | 0,17 | 0,07 | 0,07 | 0,07 | 0,06 | 0,06 | 0,05 | |
510 | 0,06 | 0,07 | 0,24 | 0,25 | 0,32 | 0,28 | 0,16 | 0,15 | 0,14 | 0,14 | 0,13 | 0,12 | |
680 | 0,07 | 0,08 | 0,26 | 0,28 | 0,33 | 0,29 | 0,16 | 0,15 | 0,13 | 0,12 | 0,11 | 0,09 | |
850 | 0,06 | 0,08 | 0,25 | 0,27 | 0,33 | 0,29 | 0,15 | 0,14 | 0,13 | 0,12 | 0,11 | 0,10 | |
1 020 | 0,05 | 0,06 | 0,18 | 0,20 | 0,21 | 0,20 | 0,13 | 0,12 | 0,11 | 0,09 | 0,08 | 0,07 | |
Таблица 2 Результаты исследований по определению массы просеянных почвенных примесей Kпр по поверхности
пруткового элеватора при Qвп = 20 кг/с, Vэл = 1,6 м/с, S1 = 0,4 м, α = 10 град
Table 2 Results of research to determine the weight of screened soil impurities Kпр along the rod elevator surface
at Qвп = 20 kg/s, Vэл = 1.6 m/s, S1 = 0.4 m, α = 10 gon
Ширина пруткового элеватора Вэл, мм / Chain Digger Width Вэл, mm | Длина пруткового элеватора Lэл, мм / Chain Digger Length Lэл, mm | Итого, кг / Total, kg | |||||||||||
170 | 340 | 510 | 680 | 850 | 1 020 | 1 190 | 1 360 | 1 530 | 1 700 | 1 870 | 2 040 | ||
170 | 0,08 | 0,11 | 0,23 | 0,35 | 0,43 | 0,36 | 0,09 | 0,11 | 0,11 | 0,12 | 0,10 | 0,09 | 19,68 |
340 | 0,08 | 0,10 | 0,23 | 0,36 | 0,42 | 0,37 | 0,12 | 0,13 | 0,12 | 0,11 | 0,09 | 0,09 | |
510 | 0,11 | 0,15 | 0,38 | 0,59 | 0,68 | 0,64 | 0,28 | 0,26 | 0,23 | 0,21 | 0,18 | 0,15 | |
680 | 0,11 | 0,15 | 0,41 | 0,64 | 0,71 | 0,75 | 0,30 | 0,27 | 0,24 | 0,22 | 0,21 | 0,17 | |
850 | 0,12 | 0,14 | 0,48 | 0,57 | 0,68 | 0,69 | 0,28 | 0,26 | 0,21 | 0,19 | 0,18 | 0,16 | |
1 020 | 0,11 | 0,15 | 0,38 | 0,43 | 0,52 | 0,54 | 0,24 | 0,23 | 0,21 | 0,22 | 0,13 | 0,12 | |
Таблица 3 Результаты исследований по определению массы просеянных почвенных примесей Kпр по поверхности
пруткового элеватора при Qвп = 30 кг/с, Vэл = 1,6 м/с, S1 = 0,4 м, α = 10 град
Table 3 Results of research to determine the weight of screened soil impurities Kпр along the rod elevator surface
at Qвп = 30 kg/s, Vэл = 1.6 m/s, S1 = 0.4 m, α = 10 gon
Ширина пруткового элеватора Вэл, мм / Chain digger width Вэл, mm | Длина пруткового элеватора Lэл, мм / Chain digger length Lэл, mm | Итого, кг / Total, kg | |||||||||||
170 | 340 | 510 | 680 | 850 | 1 020 | 1 190 | 1 360 | 1 530 | 1 700 | 1 870 | 2 040 | ||
170 | 0,09 | 0,11 | 0,46 | 0,57 | 0,68 | 0,75 | 0,21 | 0,18 | 0,15 | 0,11 | 0,12 | 0,10 | 29,16 |
340 | 0,09 | 0,12 | 0,58 | 0,65 | 0,71 | 0,84 | 0,28 | 0,25 | 0,22 | 0,15 | 0,14 | 0,12 | |
510 | 0,11 | 0,12 | 0,71 | 0,78 | 0,83 | 0,93 | 0,31 | 0,27 | 0,24 | 0,17 | 0,16 | 0,15 | |
680 | 0,11 | 0,15 | 0,78 | 0,88 | 0,97 | 0,92 | 0,46 | 0,39 | 0,38 | 0,36 | 0,32 | 0,26 | |
850 | 0,10 | 0,14 | 0,79 | 0,87 | 0,94 | 0,92 | 0,45 | 0,37 | 0,35 | 0,33 | 0,32 | 0,28 | |
1 020 | 0,10 | 0,11 | 0,76 | 0,79 | 0,88 | 0,96 | 0,31 | 0,28 | 0,23 | 0,16 | 0,15 | 0,13 | |
Таблица 4 Результаты исследований по определению массы просеянных почвенных примесей Kпр по поверхности
пруткового элеватора при Qвп = 10 кг/с, Vэл = 1,6 м/с, S1 = 0,4 м, α = 15 град
Table 4 Results of research to determine the weight of screened soil impurities Kпр along the rod elevator surface
at Qвп = 10 kg/s, Vэл = 1.6 m/s, S1 = 0.4 m, α = 15 gon
Ширина пруткового элеватора Вэл, мм / Chain Digger Width Вэл, mm | Длина пруткового элеватора Lэл, мм / Chain digger length Lэл, mm | Итого, кг / Total, kg | |||||||||||
170 | 340 | 510 | 680 | 850 | 1 020 | 1 190 | 1 360 | 1 530 | 1 700 | 1 870 | 2 040 | ||
170 | 0,03 | 0,05 | 0,14 | 0,27 | 0,21 | 0,23 | 0,04 | 0,07 | 0,08 | 0,07 | 0,11 | 0,05 | 10,41 |
340 | 0,04 | 0,03 | 0,18 | 0,33 | 0,25 | 0,26 | 0,06 | 0,04 | 0,04 | 0,04 | 0,05 | 0,03 | |
510 | 0,06 | 0,06 | 0,20 | 0,30 | 0,38 | 0,31 | 0,11 | 0,09 | 0,10 | 0,09 | 0,10 | 0,07 | |
680 | 0,03 | 0,03 | 0,22 | 0,27 | 0,41 | 0,37 | 0,12 | 0,10 | 0,09 | 0,07 | 0,07 | 0,04 | |
850 | 0,02 | 0,05 | 0,18 | 0,42 | 0,38 | 0,41 | 0,12 | 0,11 | 0,10 | 0,09 | 0,08 | 0,05 | |
1 020 | 0,03 | 0,07 | 0,15 | 0,41 | 0,47 | 0,43 | 0,10 | 0,08 | 0,06 | 0,08 | 0,07 | 0,06 | |
Таблица 5 Результаты исследований по определению массы просеянных почвенных примесей Kпр по поверхности
пруткового элеватора при Qвп = 20 кг/с, Vэл = 1,6 м/с, S1 = 0,4 м, α = 15 град
Table 5 Results of research to determine the weight of screened soil impurities Kпр along the rod elevator surface
at Qвп = 20 kg/s, Vэл = 1.6 m/s, S1 = 0.4 m, α = 15 gon
Ширина пруткового элеватора Вэл, мм / Chain Digger Width Вэл, mm | Длина пруткового элеватора Lэл, мм / Chain digger length Lэл, mm | Итого, кг / Total, kg | |||||||||||
170 | 340 | 510 | 680 | 850 | 1 020 | 1 190 | 1 360 | 1 530 | 1 700 | 1 870 | 2 040 | ||
170 | 0,07 | 0,08 | 0,21 | 0,38 | 0,47 | 0,41 | 0,08 | 0,09 | 0,10 | 0,11 | 0,10 | 0,08 | 20,34 |
340 | 0,06 | 0,09 | 0,23 | 0,41 | 0,44 | 0,40 | 0,14 | 0,11 | 0,09 | 0,10 | 0,08 | 0,07 | |
510 | 0,09 | 0,12 | 0,31 | 0,64 | 0,73 | 0,68 | 0,35 | 0,28 | 0,21 | 0,18 | 0,15 | 0,12 | |
680 | 0,10 | 0,10 | 0,34 | 0,68 | 0,75 | 0,77 | 0,38 | 0,30 | 0,24 | 0,22 | 0,18 | 0,12 | |
850 | 0,10 | 0,10 | 0,43 | 0,70 | 0,73 | 0,76 | 0,32 | 0,34 | 0,27 | 0,21 | 0,23 | 0,14 | |
1 020 | 0,10 | 0,12 | 0,33 | 0,52 | 0,58 | 0,60 | 0,26 | 0,25 | 0,28 | 0,25 | 0,18 | 0,10 | |
Таблица 6 Результаты исследований по определению массы просеянных почвенных примесей Kпр по поверхности
пруткового элеватора при Qвп = 30 кг/с, Vэл = 1,6 м/с, S1 = 0,4 м, α = 15 град
Table 6 Results of research to determine the weight of screened soil impurities Kпр along the rod elevator surface
at Qвп = 30 kg/s, Vэл = 1.6 m/s, S1 = 0.4 m, α = 15 gon
Ширина пруткового элеватора Вэл, мм / Chain Digger Width Вэл, mm | Длина пруткового элеватора Lэл, мм / Chain Digger Length Lэл, mm | Итого, кг / Total, kg | |||||||||||
170 | 340 | 510 | 680 | 850 | 1 020 | 1 190 | 1 360 | 1 530 | 1 700 | 1 870 | 2 040 | ||
170 | 0,05 | 0,08 | 0,24 | 0,58 | 0,72 | 0,78 | 0,36 | 0,28 | 0,23 | 0,24 | 0,18 | 0,20 | 30,45 |
340 | 0,06 | 0,11 | 0,34 | 0,69 | 0,77 | 0,89 | 0,38 | 0,31 | 0,29 | 0,25 | 0,19 | 0,19 | |
510 | 0,15 | 0,16 | 0,37 | 0,82 | 0,87 | 0,98 | 0,37 | 0,33 | 0,31 | 0,25 | 0,18 | 0,21 | |
680 | 0,18 | 0,21 | 0,42 | 0,91 | 0,92 | 0,92 | 0,46 | 0,41 | 0,41 | 0,40 | 0,38 | 0,36 | |
850 | 0,12 | 0,16 | 0,42 | 0,93 | 0,96 | 0,95 | 0,53 | 0,42 | 0,44 | 0,43 | 0,42 | 0,34 | |
1 020 | 0,14 | 0,16 | 0,45 | 0,89 | 0,90 | 0,92 | 0,38 | 0,31 | 0,27 | 0,19 | 0,18 | 0,15 | |
Таблица 7 Результаты исследований по определению массы просеянных почвенных примесей Kпр по поверхности
пруткового элеватора при Qвп = 10 кг/с, Vэл = 1,6 м/с, S1 = 0,4 м, α = 20 град
Table 7 Results of research to determine the weight of screened soil impurities Kпр along the rod elevator surface
at Qвп = 10 kg/s, Vэл = 1.6 m/s, S1 = 0.4 m, α = 20 gon
Ширина пруткового элеватора Вэл, мм / Chain Digger Width Вэл, mm | Длина пруткового элеватора Lэл, мм / Chain Digger Length Lэл, mm | Итого, кг / Total, kg | |||||||||||
170 | 340 | 510 | 680 | 850 | 1 020 | 1 190 | 1 360 | 1 530 | 1 700 | 1 870 | 2 040 | ||
170 | 0,05 | 0,07 | 0,19 | 0,18 | 0,18 | 0,16 | 0,14 | 0,14 | 0,11 | 0,09 | 0,09 | 0,07 | 10,05 |
340 | 0,05 | 0,07 | 0,20 | 0,24 | 0,22 | 0,21 | 0,18 | 0,19 | 0,17 | 0,11 | 0,11 | 0,10 | |
510 | 0,06 | 0,06 | 0,18 | 0,25 | 0,26 | 0,25 | 0,16 | 0,15 | 0,15 | 0,12 | 0,12 | 0,11 | |
680 | 0,06 | 0,07 | 0,19 | 0,25 | 0,25 | 0,26 | 0,17 | 0,17 | 0,15 | 0,11 | 0,11 | 0,09 | |
850 | 0,05 | 0,05 | 0,18 | 0,32 | 0,33 | 0,35 | 0,18 | 0,16 | 0,14 | 0,12 | 0,13 | 0,08 | |
1 020 | 0,05 | 0,08 | 0,17 | 0,23 | 0,26 | 0,25 | 0,18 | 0,17 | 0,15 | 0,13 | 0,11 | 0,11 | |
Таблица 8 Результаты исследований по определению массы просеянных почвенных примесей Kпр по поверхности
пруткового элеватора при Qвп = 20 кг/с, Vэл = 1,6 м/с, S1 = 0,4 м, α = 20 град
Table 8 Results of research to determine the weight of screened soil impurities Kпр along the rod elevator surface
at Qвп = 20 kg/s, Vэл = 1.6 m/s, S1 = 0.4 m, α = 20 gon
Ширина пруткового элеватора Вэл, мм / Chain Digger Width Вэл, mm | Длина пруткового элеватора Lэл, мм / Chain Digger Length Lэл, mm | Итого, кг / Total, kg | |||||||||||
170 | 340 | 510 | 680 | 850 | 1 020 | 1 190 | 1 360 | 1 530 | 1 700 | 1 870 | 2 040 | ||
170 | 0,09 | 0,07 | 0,23 | 0,48 | 0,32 | 0,36 | 0,32 | 0,28 | 0,11 | 0,12 | 0,11 | 0,11 | 19,82 |
340 | 0,10 | 0,08 | 0,26 | 0,48 | 0,34 | 0,38 | 0,39 | 0,28 | 0,12 | 0,12 | 0,11 | 0,11 | |
510 | 0,10 | 0,13 | 0,26 | 0,42 | 0,36 | 0,47 | 0,46 | 0,31 | 0,19 | 0,15 | 0,13 | 0,12 | |
680 | 0,09 | 0,14 | 0,35 | 0,55 | 0,48 | 0,47 | 0,41 | 0,38 | 0,20 | 0,21 | 0,14 | 0,15 | |
850 | 0,08 | 0,14 | 0,46 | 0,56 | 0,58 | 0,48 | 0,46 | 0,40 | 0,26 | 0,22 | 0,20 | 0,12 | |
1 020 | 0,08 | 0,15 | 0,38 | 0,57 | 0,54 | 0,44 | 0,48 | 0,36 | 0,28 | 0,22 | 0,18 | 0,14 | |
Графическое отображение результатов исследований по определению закономерности сепарации почвенных примесей представлены на рисунках 8–15.
элеватора с асимметричным расположением встряхивателей
при Qвп = 10 кг/с, Vэл = 1,6 м/с, S1 = 0,4 м, α =10 град
Fig. 8. Dependence of soil screening along the length and width of the rod elevator
with an asymmetric arrangement of web agitators at Qвп = 10 kg/s, Vэл = 1.6 m/s, S1 = 0.4 m, α = 10 gon
пруткового элеватора с асимметричным расположением встряхивателей
при Qвп = 20 кг/с, Vэл = 1,6 м/с, S1 = 0,4 м, α =10 град
Fig. 9. Dependence of soil screening along the length and width of the rod elevator
with asymmetric arrangement of web agitators at Qвп = 20 kg/s, Vэл = 1.6 m/s, S1 = 0.4 m, α = 10 gon
пруткового элеватора с асимметричным расположением встряхивателей
при Qвп = 30 кг/с, Vэл = 1,6 м/с, S1 = 0,4 м, α = 10 град
Fig. 10. Dependence of soil screening along the length and width of the rod elevator
with an asymmetric web agitator arrangement at Qвп = 30 kg/s, Vэл = 1.6 m/s, S1 = 0.4 m, α = 10 gon
Рис. 11. Зависимость просеивания почвы по длине и ширине
пруткового элеватора с асимметричным расположением встряхивателей
при Qвп = 10 кг/с, Vэл = 1,6 м/с, S1 = 0,4 м, α = 15 град
Fig. 11. Dependence of soil screening along the length and width of the rod elevator
with an asymmetric web agitator arrangement at Qвп = 10 kg/s, Vэл = 1.6 m/s, S1 = 0.4 m, α = 15 gon
Рис. 12. Зависимость просеивания почвы по длине и ширине
пруткового элеватора с асимметричным расположением встряхивателей
при Qвп = 20 кг/с, Vэл = 1,6 м/с, S1 = 0,4 м, α = 15 град
Fig. 12. Dependence of soil screening along the length and width of the rod elevator
with an asymmetric web agitator arrangement at Qвп = 20 kg/s, Vэл = 1.6 m/s, S1 = 0.4 m, α = 15 gon
пруткового элеватора с асимметричным расположением встряхивателей
при Qвп = 30 кг/с, Vэл = 1,6 м/с, S1 = 0,4 м, α = 15 град
Fig. 13. Dependence of soil screening along the length and width of the rod elevator
with an asymmetric web agitator arrangement at Qвп = 30 kg/s, Vэл = 1.6 m/s, S1 = 0.4 m, α = 15 gon
с асимметричным расположением встряхивателей
при Qвп = 10 кг/с, Vэл = 1,6 м/с, S1 = 0,4 м, α = 20 град
Fig. 14. Dependence of soil screening along the length and width of the rod elevator
with an asymmetric web agitator arrangement at Qвп = 10 kg/s, Vэл = 1.6 m/s, S1 = 0.4 m, α = 20 gon
с асимметричным расположением встряхивателей
при Qвп = 20 кг/с, Vэл = 1,6 м/с, S1 = 0,4 м, α = 20 град
Fig. 15. Dependence of soil screening along the length and width of the rod elevator
with an asymmetric web agitator arrangement at Qвп = 20 kg/s, Vэл = 1.6 m/s, S1 = 0.4 m, α = 20 gon
Используя представленные графические зависимости, можно определить массу просеянных почвенных примесей через щелевые отверстия пруткового элеватора с асимметричным расположением встряхивателей при изменении подачи почвенных примесей Qвп с постоянными значениями технологических параметров Vэл = const; S1 = const; α = const.
Для этого после определения соответствующего участка по длине пруткового элеватора необходимо провести параллельно оси ординат прямую до пересечения с графиком.
По оси абсцисс указана изменяемая длина пруткового элеватора, по оси ординат – масса просеянных почвенных примесей.
Представленные графические зависимости показывают, что интенсивность просеивания почвы на прутковом элеваторе с асимметричным расположением встряхивателей обеспечивается при увеличении подачи почвенных примесей от 10 до 30 кг/с. Данное обстоятельство объясняется тем, что при перемещении массы почвенных примесей по поверхности пруткового элеватора происходит процесс расклинивания крупными частицами промежутков в почвенной массе. Так как в почвенной навеске большей массы имеется содержание крупных частиц, то и процесс просеивания происходит более интенсивно при увеличении подачи примесей на поверхность пруткового элеватора, в отличии от навески меньшей массы. Максимальное значение массы Kпр просеянной почвы, вне зависимости от значения подачи почвенных примесей, наблюдается на участке затухания длины волны рабочей ветви пруткового элеватора, что обусловлено воздействием эллиптического встряхивателя на соответствующей длине пруткового элеватора Lэл = 1 020 мм.
При дальнейшем продвижении почвенной массы по длине пруткового элеватора происходит снижение интенсивности процесса просеивания почвенных примесей в результате затухания длины волны рабочей ветви пруткового элеватора от воздействия эллиптического встряхивателя.
Обсуждение и заключение
Результаты проведенных исследований свидетельствуют о том, что основная масса почвенных примесей просеивается на участке расположения встряхивателей, формирующих длину волны встряхивания, которая при проведении исследований устанавливалась в интервале значений S1 = 0,2–0,4 м.
Полученные результаты исследований позволят обеспечить интенсификацию процесса сепарации корнеклубнеплодов и луковиц от почвенных примесей c помощью оптимального расположения встряхивателей по длине пруткового элеватора при известных значениях максимальной просеваемости почвенных примесей.
Приведенные данные указывают на высокую интенсивность процесса просеивания почвы на участке пруткового элеватора с оптимальным расположением встряхивателей. Затронутая проблема нуждается в разработке и станет объектом дальнейших исследований коллектива авторов.
Об авторах
Алексей Викторович Сибирёв
ФГБНУ «Федеральный научный агроинженерный центр ВИМ»
Автор, ответственный за переписку.
Email: sibirev2011@yandex.ru
ORCID iD: 0000-0002-9442-2276
ResearcherId: M-6230-2016
старший научный сотрудник отдела технологий и машин в овощеводстве, кандидат технических наук
Россия, 109428, г. Москва, 1-й Институтский проезд, д. 5Алексей Семёнович Дорохов
ФГБНУ «Федеральный научный агроинженерный центр ВИМ»
Email: dorokhov@rgau-msha.ru
ORCID iD: 0000-0002-4758-3843
ResearcherId: H-4089-2018
заместитель директора по научно-организационной работе, лен-корреспондент РАН, доктор технических наук, профессор
Россия, 109428, г. Москва, 1-й Институтский проезд, д. 5Александр Геннадьевич Аксенов
ФГБНУ «Федеральный научный агроинженерный центр ВИМ»
Email: 1053vim@mail.ru
ORCID iD: 0000-0002-9546-7695
ResearcherId: V-5572-2017
ведущий научный сотрудник отдела технологий и машин в овощеводстве, кандидат технических наук
Россия, 109428, г. Москва, 1-й Институтский проезд, д. 5Максим Александрович Мосяков
ФГБНУ «Федеральный научный агроинженерный центр ВИМ»
Email: maks.mosyakov@yandex.ru
ORCID iD: 0000-0002-5151-7312
ResearcherId: A-8482-2019
старший научный сотрудник отдела технологий и машин в овощеводстве, кандидат технических наук
Россия, 109428, г. Москва, 1-й Институтский проезд, д. 5Список литературы
- Сибирёв, А. В. Обоснование конструктивных и технологических параметров сепарирующего пруткового транспортера с асимметричным расположением встряхивателей / А. В. Сибирёв, А. Г. Аксенов, М. А. Мосяков // Вестник ФГОУ ВПО «Московский государственный агроинженерный университет имени В. П. Горячкина». – 2018. – № 4. – С. 15–20. – URL: http://elib.timacad.ru/dl/full/vmgau-02-2018-04.pdf/download/vmgau-02-2018-04.pdf (дата обращения:18.12.2020). – Рез. англ.
- Design Modification and Field Testing of Groundnut Digger / T. Asghar, A. Ghafoor, A. Munir[et al.] // Asian Journal of Science and Technology. – 2014. – Vol. 5, Issue 7. – Pр. 389–394. – URL: https://www.researchgate.net/publication/274373280_DESIGN_MODIFICATION_AND_FIELD_TESTING_OF_GROUNDNUT_DIGGER (дата обращения: 18.12.2020).
- Akdemir, B. Mechanized Panting and Harvesting of Onion / B. Akdemir, P. Ulger, S. Arin // Agricultural Mechanization in Asia, Africa & Latin America. – 1993. – Vol. 24, Issue 4. – Pр. 23–26. – URL:https://www.researchgate.net/publication/289056030_Mechanized_panting_and_harvestiong_of_onion(дата обращения: 18.12.2020).
- Sibirev, A. V. Experimental Laboratory Research of Separation Intensity of Onion Set Heaps on Rod Elevator / A. V. Sibirev, A. G. Aksenov, M. A. Mosyakov // Journal of Engineering and Applied Sciences. – 2018. – Vol. 13, Issue 23. – Pp. 10086–10091. – URL: https://www.researchgate.net/publication/329752893_Experimental_laboratory_research_of_separation_intensity_of_onion_set_heaps_on_rod_elevator (дата обращения: 18.12.2020).
- Сибирёв, А. В. Результаты экспериментальных исследований сепарации вороха лука-севка на прутковом элеваторе с асимметрично установленными встряхивателями / А. В. Сибирёв,А. Г. Аксенов, М. А. Мосяков. – doi: 10.15507/2658-4123.029.201901.091-107 // Инженерные технологии и системы. – 2019. – Т. 29, № 1. – С. 91–107. – Рез. англ.
- Дорохов, А. С. Результаты полевых исследований машины для уборки лука-севка, оснащенной прутковым элеватором с асимметричным расположением встряхивателей / А. С. Дорохов,А. В. Сибирёв, А. Г. Аксенов. – doi: 10.15507/2658-4123.030.202001.133-148 // Инженерные технологии и системы. – 2020. – Т. 30, № 1. – С. 133–148. – Рез. англ.
- Pasaman, B. The Determination of the Parameters of a Ploughshare-Rotor Potato Digger / B. Pasaman, V. Zakharchuk // ECONTECHMOD. – 2012. – no. 2. – Pр. 43–47. – URL: http://www.journals.pan.pl/dlibra/publication/98931/edition/85237/content (дата обращения: 18.12.2020).
- Abd El-Rahman, M. M. Development and Performance Evaluation of a Simple Grading Machine Suitable for Onion Sets / M. M. Abd El-Rahman. – doi: 10.21608/JSSAE.2011.55418 // Journal of Soil Sciences and Agricultural Engineering. – 2011. – Vol. 2, Issue 2. – Pр. 213–226.
- Khura, T. I C A R Design and Development of Tractor-Drawn Onion (Allium Cepa) Harvester /T. Khura, I. Mani, A. Srivastava // Indian Journal of Agricultural Sciences. – 2011. – Vol. 81, Issue 6. –Pр. 528–532. – URL: https://www.researchgate.net/publication/267251851_I_C_A_R_Design_and_development_of_tractor-drawn_onion_Allium_cepa_harvester (дата обращения: 18.12.2020).
- Indraja, D. A Review Paper Based on Design and Development of an Onion Harvesting Machine / D. Indraja, J. Ajkhilesh, P. Vishal [et al.] // Journal of Information and Computational Science. –2019. – Vol. 9, Issue 12. – Pp. 333–337. – URL: https://www.researchgate.net/publication/339201506 (дата обращения: 18.12.2020).
- Bachche, S. Deliberation on Design Strategies of Automatic Harvesting Systems: A Survey /S. Bachche. – doi: 10.3390/robotics4020194 // Robotics. – 2015. – Vol. 4, Issue 2. – Pp. 194–222.
- Dai, F. Design and Experiment of Combined Operation Machine for Potato Harvesting and Plastic Film Pneumatic Auxiliary Collecting / F. Dai, W. Zhao, W. Sun. – doi: 10.6041/j.issn.1000-1298.2017.01.009 // Transactions of the CSAM. – 2018. – Vol. 49, Issue 3. – Pp. 104–113.
- Stability Tests of Two-Finger Tomato Grasping for Harvesting Robots / Z. Li, P. Li, H. Yang, Y. Wang. – doi: 10.1016/j.biosystemseng.2013.07.017 // Biosystems Engineering. – 2013. – Vol. 116,Issue 2. – Pp. 163–170.
- О взаимодействии клубненосного пласта с рабочими органами копателя / Н. В. Бышов,С. Н. Борычев, Н. Н. Якутин [и др.] // Вестник Рязанского государственного агротехнологического университета им. П. А. Костычева. – 2018. – № 4 (40). – С. 161–167. – URL: https://www.elibrary.ru/item.asp?id=36673758 (дата обращения: 18.12.2020). – Рез. англ.
- Исследование тягового сопротивления лемеха с переменным углом наклона / Э. О. Нестерович, Н. В. Бышов, М. Ю. Костенко [и др.] // Вестник Рязанского государственного агротехнологического университета им. П. А. Костычева. – 2018. – № 1 (37). – С. 84–89. – URL: https://www.elibrary.ru/item.asp?id=35056434 (дата обращения: 18.12.2020). – Рез. англ.
- Модернизация копателя КСТ-1,4 / Н. В. Бышов, Н. Н. Якутин, Р. Ю. Ковешников [и др.] // Вестник Рязанского государственного агротехнологического университета им. П. А. Костычева. – 2016. – № 2 (30). – С. 75–78. – URL: http://vestnik.rgatu.ru/archive/2016_2.pdf (дата обращения:18.12.2020). – Рез. англ.
- Bachche, S. Modeling and Performance Testing of End-Effector for Sweet Pepper Harvesting Robot / S. Bachche, K. Oka. – doi: 10.20965/jrm.2013.p0705 // Journal of Robotics and Mechatronics. –2013. – Vol. 25, Issue 4. – Pp. 705–717.
- Якутин, Н. Н. Результаты экспериментальных исследований процесса машинной уборки картофеля усовершенствованным копателем КТН-2В / Н. Н. Якутин, Н. В. Бышов, Г. К. Рембалович // Политематический сетевой электронный научный журнал Кубанского государственного аграрного университета. – 2014. – № 99 (5). – С. 1052–1061. – URL: https://clck.ru/WcriE (дата обращения: 18.12.2020). – Рез. англ.
- Выбор и обоснование параметров экологического состояния агроэкосистемы для мониторинга технологических процессов возделывания сельскохозяйственных культур / А. Б. Калинин,В. А. Смелик, И. З. Теплинский, О. Н. Первухина // Известия Санкт-Петербургского государственного аграрного университета. – 2015. – № 39. – С. 315–319. – URL: https://clck.ru/Wcs6y (дата обращения:18.12.2020). – Рез. англ.
- Протасов, А. А. Технология и средства механизации для двухфазной уборки лука-репки /А. А. Протасов, С. А. Макаров. – doi: 10.28983/asj.v0i10.592 // Аграрный научный журнал. – 2018. –№ 10. – С. 59–62. – Рез. англ.
- Kumar, D. Performance Evaluation of Tractor Drawn Potato Digger Cum – Elevator / D. Kumar,A. Tripathi // International Journal of Agricultural Science and Research. – 2017. – Vol. 7, Issue 2. –Pp. 433–448. – URL: http://www.tjprc.org/publishpapers/2-50-1490605027-55.IJASRAPR201755.pdf(дата обращения: 18.12.2020).
- Massah, J. Effect of Blade Angle and Speed of Onion Harvester on Mechanical Damage of Onion Bulbs / J. Massah, A. Lotfi, A. Arabhosseini // Agricultural Mechanization in Asia, Africa & Latin America.– 2012. – Vol. 43, Issue 3. – Pр. 60–63. – URL: https://www.researchgate.net/publication/287778155_Effect_of_Blade_Angle_and_Speed_of_Onion_Harvester_on_Mechanical_Damage_of_Onion_Bulbs (дата обращения: 18.12.2020).
- Jothi Shanmugam, C. Indigenous Development of Low Cost Harvesting Machine / C. Jothi Shanmugam, G. Senthilkumar // ARPN Journal of Engineering and Applied Sciences. – 2017. –Vol. 12, Issue 5. – Pр. 4489–4490. – URL: http://www.arpnjournals.org/jeas/research_papers/rp_2017/jeas_0817_6236.pdf (дата обращения: 18.12.2020).
- Mayer, V. Measurement of Potato Tubers Resistance against Mechanical Loading / V. Mayer,D. Vejchar, L. Pastorková. – doi: 10.17221/708-RAE // Research in Agricultural Engineering. – 2008. –Vol. 54, Issue 1. – Pр. 22–31.
- Патент № 2638190 Российская Федерация, МПК А01 D33/00. Сепарирующий транспортер корнеклубнеуборочной машины : № 2017107814 : заявл. 10.03.2017 : опубл. 12.12.2017 / Сибирёв А. В., Аксенов А. Г., Колчин Н. Н., Пономарев А. Г. ; заявитель и патентообладатель ФГБНУ ФНАЦ ВИМ. – 8 с. – URL: https://viewer.rusneb.ru/ru/000224_000128_0002638190_20171212_C1_RU?page=1&rotate=0&theme=white (дата обращения: 18.12.2020). – Рез. англ.
- Experiment on Poke Finger Wheel Type Potato Digger / J. Wu, H. Li, W. Sun [et al.]. – doi: 10.3969/j.issn.1000-1298.2010.12.016 // Transactions of the CSAE. – 2011. – Vol. 27, Issue 7. – Pp. 173–177.
- Design and Experiment on Potato Digger of Disc Ce-Grate Type / L. R. Shi, J. M. Wu,W. Y. Zhao [et al.]. – Текст : непосредственный // Transactions of the CSAE. – 2012. – Vol. 28, Issue 24. – Pp. 15–21.
- Experiment and Analysis of Potato-Soil Separation Based on Impact Recording Technology /Z. Weil, H. Li, Y. Mao [et al.] // International Journal of Agricultural and Biological Engineering. – 2019. –Vol. 12, Issue 5. – Pр. 71–80. – URL: https://www.ijabe.org/index.php/ijabe/article/view/4573 (дата обращения: 18.12.2020).
- Impact of Soil Compaction on the Engineering Properties of Potato Tubers / M. K. Edrris,K. A. Al-Gaadi, A. A. Hassaballa [et al.] // International Journal of Agricultural and Biological Engineering.– 2020. – Vol. 13, Issue 2. – Pp. 163–167. – URL: https://www.ijabe.org/index.php/ijabe/article/view/4818/pdf (дата обращения: 18.12.2020).
- Advances in Machine Vision Applications for Automatic Inspection and Quality Evaluation of Fruits and Vegetables / S. Cubero, N. Aleixos, E. Moltó [et al.]. – doi: 10.1007/s11947-010-0411-8 // Food and Bioprocess Technology. – 2011. – Vol. 4. – Pp. 287–502.
Дополнительные файлы


































