Исследование очесывающего аппарата устройства для уборки зерновых культур как колебательной системы
- Авторы: Савин В.Ю.1
-
Учреждения:
- Калужский филиал ФГБОУ ВО «Московский государственный технический университет имени Н.Э. Баумана (национальный исследовательский университет)»
- Выпуск: Том 31, № 3 (2021)
- Страницы: 403-413
- Раздел: Технологии и средства механизации сельского хозяйства
- Статья получена: 01.08.2025
- Статья одобрена: 01.08.2025
- Статья опубликована: 30.09.2021
- URL: https://medbiosci.ru/2658-4123/article/view/303577
- DOI: https://doi.org/10.15507/2658-4123.031.202103.403-413
- ID: 303577
Цитировать
Полный текст
Аннотация
Введение. Потери зерна неочесом являются основной проблемой, которую необходимо решать при разработке устройств очесывающего типа. Для их снижения предложена конструкция очесывающего аппарата с виброприводом. Устройство совмещает процессы очеса зерновых культур и вибрационного воздействия гребенок на колос растений. Важнейшим этапом математического описания данных процессов является составление дифференциального уравнения движения гребенки.
Материалы и методы. Предложена расчетно-графическая схема колебательной системы с одной степенью свободы. Для составления дифференциального уравнения движения очесывающей гребенки использован метод, основанный на применении уравнения Лагранжа II рода. Колебания рассматриваемой системы возникают благодаря приведению в движение точки системы по заданному закону. Задача о кинематическом возбуждении сведена к задаче о силовом возмущении. Данный этап исследований проведен без учета сил сопротивления.
Результаты исследования. Получено уравнение движения гребенки, совершающей вибрационные возвратно-поступательные движения. Предложено в расчетной схеме выделить упругий элемент и получить более общий случай движения очесывающей гребенки. Движение гребенки в данном случае рассмотрено как сложное. Характерной особенностью математического описания является наличие обобщенной силы потенциальных сил. Получены дифференциальное уравнение движения гребенки при наличии упругого элемента и решение данного уравнения.
Обсуждение и заключение. Вынужденные колебания очесывающей гребенки будут являться гармоническими с постоянной амплитудой. Отмечено, что при близких значениях угловой частоты колебаний выходного звена вибропривода и корня из отношения коэффициента жесткости упругого элемента к массе гребенки имеет место случай резонанса. Параметры системы необходимо выбирать таким образом, чтобы избежать возникновения данного явления.
Полный текст
Введение
Одним из перспективных нетрадиционных способов уборки зерновых культур является уборка с использованием устройства, очесывающего растения на корню. Способ известен достаточно давно, но именно сейчас получает развитие. Жатки очесывающего типа к зерноуборочным комбайнам пока не получили широкого распространения, но уже выпускаются серийно в России и за рубежом [1–3].
Пропускную способность комбайна ограничивают соломотряс и очистка. Уменьшение подачи соломы оптимизирует процессы сепарации и очистки и создает предпосылки для увеличения производительности зерноуборочного комбайна [4]. Высокое содержание свободного зерна в очесанном ворохе дает предпосылки для создания перспективных малогабаритных прицепных очесывающих устройств для уборки зерновых [5; 6].
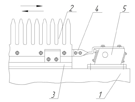
Основной проблемой, которую необходимо решать при разработке, являются потери зерна неочесом. Для снижения потерь мы предлагаем конструкцию очесывающего аппарата с виброприводами (рис. 1) [7].
Рис. 1. Очесывающий аппарат с вибрационным возвратно-поступательным движением гребенок
Fig. 1. Stripping device with vibrating reciprocating motion of stripping fingers
Данное устройство совмещает очес зерновых культур и вибрационное воздействие гребенок на колос растений. Основными составляющими очесывающего аппарата являются барабан 1 с кронштейнами 3, гребенки 2, виброприводы 5. Кронштейны 4 соединяют гребенки, собранные на брусьях, с виброприводами 5.
В процессе захвата растений и очеса колосьев гребенки в направляющих совершают вибрационные возвратно-поступательные движения с определенной частотой и амплитудой. Колебательные движения облегчают внедрение гребенок в стеблестой. Кроме того, колосья растений воспринимают вибрационное воздействие гребенок, что способствует более полному выделению зерна из колоса.
Определение и оптимизация параметров рабочего процесса очеса зерновых культур предполагают создание математической модели процесса. Важнейшим этапом математического описания данного колебательного процесса является составление дифференциального уравнения движения гребенки.
Цель исследования – составление расчетной схемы и дифференциального уравнения движения очесывающей гребенки, совершающей вибрационные возвратно-поступательные движения.
Обзор литературы
Прочность связи зерна с колосом неравномерна по длине колоса. Менее прочно связаны с колосом зерна, расположенные в средней части. Данные факторы обуславливают потери зерна неочесом при работе очесывающих устройств. В одной из работ приведены данные по общим потерям зерна и потерям неочесом при использовании адаптеров различной конструкции [8]. Так, после внедрения адаптера фирмы Shelbourne Reynolds потери зерна неочесом изменялись в диапазоне 0,32–0,97 %. При этом они возрастали пропорционально скорости комбайна. Потери неочесом на хлебах с полеглостью 80 % достигали 3,15 %. Необходимо также отметить данные по потерям зерна в оборванных колосьях при работе адаптера конструкции ЦНИИМЭСХ, разработанного совместно с ФГБНУ «Федеральный научный агроинженерный центр ВИМ». Указанные потери зерна изменялись в пределах 0,40–4,52 %.
В другой работе приведены результаты экспериментальных исследований при уборке овса и пшеницы методом очеса. При этом отмечено, что рабочая скорость комбайна при уборке овса выше, чем при уборке пшеницы. Это зависит от более прочной связи зерна пшеницы с колосом. В то же время отмечена более прочная связь метелки овса со стеблем, чем колоса пшеницы с растением [9].
В результате анализа указанных исследований можно отметить важность снижения усилия очеса растений и улучшение процесса отделения зерен от колосьев. Это дает предпосылки не только для снижения потерь неочесом, но и для снижения потерь зерна в оборванных колосьях, так как основной причиной данного процесса остается превышение усилия отделения зерна над обрывом колоса. Использование очесывающего аппарата с виброприводами позволит снизить указанные потери.
Был произведен обзор литературных источников, посвященных использованию вибропроводов в промышленности, на путевых машинах. Кроме того, рассмотрены методики описания движения механических систем в рамках теории колебаний.
Рассмотрены конструктивные особенности и режимы работы вибрационных машин. Отмечено, что виброприводы современных транспортирующих механизмов и машин выдают прямолинейные гармонические колебания [10].
Основными рабочими органами путевых выправочно-подбивочно-рихтовочных машин являются подбивочные блоки. Подбойки подбивочных блоков внедряются в балласт и производят его обжатие. Подбойки колеблются с частотой 35 Гц. Это упрощает их внедрение в балласт и придает ему подвижность, необходимую для уплотнения [11]. Гидропривод машины обеспечивает вращение эксцентрикового вибровала, движение кривошипного механизма и, соответственно, вибрацию подбоек.
Анализируется проблема избыточного вибровоздействия, приводящего, в том числе, и к разрушению балласта [12].
Автор следующей статьи вводит понятие «время вибровоздействия» применительно к путевым машинам и балласту. Отмечено, что увеличение времени вибровоздействия является резервом повышения качества подбивки балласта. Отмечена зависимость величины передаваемой энергии от частоты вибрации. Значительно возрастает передаваемая на балласт энергия при переходе от частоты вибровоздействий в 45 Гц к частоте в 35 Гц [13].
Другая статья посвящена проблематике резания полимерных композиционных материалов. Такие материалы обладают специфической структурой, а также анизотропией свойств, значительно усложняющих их механическую обработку. Можно добиться значительного повышения качества обработки и снижения сил резания (до 80 %), используя комбинацию традиционного сверления и вибрационного воздействия на заготовку в ультразвуковом диапазоне. Одним из факторов, обеспечивающих указанные эффекты, является значительное улучшение процесса стружкообразования [14].
Аналогичный прием предложен для обработки глинозема. Указывается, что ротационная ультразвуковая обработка – один из наиболее эффективных методов для хрупких материалов. Также отмечены снижение силы резания и негативное влияние на процесс резания боковой вибрации. Предложена методика ее минимизации [15].
Положения рассмотренных выше работ [14; 15] позволяют предложить гипотезу о снижении сил очеса растений при использовании очесывающего аппарата с виброприводами.
Исследованы усилия очеса при использовании аппарата традиционной конструкции [16]. Вопросы прочности связи зерна с колосом рассмотрены в другой работе [17]. Подтверждение или опровержение предложенной гипотезы в теоретической плоскости возможно только при подробном математическом описании колебательного процесса очеса.
Авторы анализируют преимущества и конструктивные особенности бесшатунных механизмов преобразования движения. Составлена кинематическая схема, получены основные уравнения кинематики и динамики механизма, а также предложена методика определения степени влияния параметров системы на кинематические и динамические характеристики механизма. При этом отмечена необходимость уравновешивания сил инерции и их моментов [18].
Рассмотрены особенности математического описания колебательных процессов под действием внешних сил. Внимание уделено методологии определения и представления механической мощности и ее составляющих. Инерционная мощность отмечена как характерная для вибромашин. Проведена аналогия между механическими и электрическими составляющими мощности [19].
Материалы и методы
Важнейшим этапом построения расчетной схемы является определение числа степеней свободы системы. Так как гребенка движется в направляющих, ограничивающих ее продольное перемещение, она работает только в поперечном направлении. Данная система может рассматриваться как имеющая одну степень свободы.
Предложенная расчетно-графическая схема колебательной системы представлена на рисунке 2. После выбора расчетной схемы составим уравнения движения системы.
Рис. 2. Расчетно-графическая схема колебательной системы
Fig. 2. Calculation and graphic diagram of an vibrating system
Наиболее общим является метод, предполагающий использование уравнения Лагранжа II рода. Оно является дифференциальным уравнением второго порядка:
, (1)
где Т – кинетическая энергия колебательной системы; x – обобщенная координата колебательной системы; QП – обобщенная сила потенциальных сил; QФ – обобщенная сила от действия сил сопротивления; QВ – обобщенная сила от возмущающих сил.
Рассматриваемая система совершает вынужденные колебания. В данном случае они вызываются не заданными силами, а возникают благодаря приведению в движение по заданному закону точки системы, то есть точки на гребенке. Такое возбуждение будет являться кинематическим. При этом задачу о кинематическом возбуждении нетрудно свести к задаче о силовом возмущении. На данном этапе составления расчетной схемы пренебрегаем силами трения и силами сопротивления, связанными с воздействием на колос.
При составлении уравнения Лагранжа на первом этапе вычисляем кинетическую энергию системы.
Результаты исследования
Запишем выражение для кинетической энергии гребенки:
(2)
где m – масса гребенки, V – скорость гребенки.
Имеем:
; ; .
Так как выходное звено вибратора совершает гармонические колебания, то
, (3)
где ω – угловая частота колебаний выходного звена вибропривода; δ – начальная фаза колебаний.
В этом случае
. (4)
В данном уравнении роль обобщенной силы выполняет величина .
Перепишем уравнение (4) в следующем виде:
, (5)
где
. (6)
В уравнении (6) H – постоянная, характеризующая обобщенную силу и являющаяся ее амплитудой.
Как видно из уравнения (6), в нашем случае при кинематическом возбуждении заданием движения гребенки H пропорционально ω2.
Уравнение (5) будет являться дифференциальным уравнением движения гребенки, совершающей вибрационные возвратно-поступательные движения.
Если рассматривать кронштейн 4 (рис. 1) как упругий элемент, уравнение движения гребенки будет иным. Расчетно-графическая схема для данного случая представлена на рисунке 3. При составлении расчетной модели учтем силы сопротивления при движении гребенки и очесе зерновых культур.
Рис. 3. Расчетно-графическая схема колебательной системы с упругим элементом
Fig. 3. Calculation and graphic diagram of an vibrating system with an elastic element
Составим уравнение Лагранжа для гребенки относительно подвижной системы отсчета Оxy, начало которой движется вместе с точкой А так, что ОА при движении остается постоянным.
В данном случае в уравнении (1) появляется обобщенная сила потенциальных сил QП:
, (7)
где П – потенциальная энергия системы; с – коэффициент жесткости упругого элемента.
Силу сопротивления запишем следующим образом:
, (8)
где Ф – обобщенная сила сил сопротивления при движении гребенки и очесе; μ – коэффициент сопротивления.
Движение гребенки в данном случае будем рассматривать как сложное, состоящее из переносного вместе с точкой A и относительного по отношению к подвижной системе координат Оxy.
Кинетическая энергия гребенки в данном случае будет равна:
. (9)
Для производных от кинетической энергии имеем:
; ;
Подставляя полученные выражения в уравнение (1), получим:
или
(10)
В данном уравнении роль обобщенной силы выполняет величина −mz.
С учетом (3) уравнение (10) примет вид:
mẍ + μẋ + cx = mz0ω2sin(ωt + δ). (11)
Уравнение (11) и будет являться дифференциальным уравнением движения гребенки при наличии упругого элемента.
Выделим постоянную H, характеризующую обобщенную силу, по аналогии с уравнением (5):
. (12)
Здесь величина H, так же как и в уравнении (6), пропорциональна ω2.
Тогда mẍ + μẋ + cx = H sin(ωt + δ). (13)
Для приведения уравнения (13) к стандартному виду разделим обе части на m и введем обозначения ; ; .
Дифференциальное уравнение вынужденных колебаний в окончательной форме будет иметь следующий вид:
. (14)
Для решения дифференциального уравнения (14) воспользуемся пакетом прикладных программ MATLAB.
Аналитическая запись решения будет иметь следующий вид:
(15)
где
Вид кривой колебаний будет зависеть от соотношения k и ω. При близких значениях √k и ω имеет место случай резонанса, то есть совпадение частот собственных колебаний и возмущающей сил. Наличие сопротивления определяет следующую особенность протекания резонансных явлений: амплитуда колебаний остается постоянной, а не изменяется с течением времени.
Вынужденные колебания очесывающей гребенки при √k ≠ ω будут являться гармоническими колебаниями с постоянной амплитудой. Частота колебаний гребенки будет совпадать с частотой возмущающей силы или, применительно к нашему случаю, с частотой колебания выходного звена вибропривода.
Обсуждение и заключение
Предложена расчетная модель для описания движения гребенок очесывающего аппарата с виброприводом. Получено уравнение движения гребенки, совершающей вибрационные возвратно-поступательные движения.
Предложено в расчетной схеме выделить упругий элемент и получить более общий случай движения очесывающей гребенки и, соответственно, более общее математическое описание данного движения. Движение гребенки в данном случае рассмотрено как сложное. Характерной особенностью математического описания является наличие обобщенной силы потенциальных сил и обобщенной силы от действия сил сопротивления. Получено дифференциальное уравнение движения гребенки при наличии упругого элемента, а также решение данного уравнения.
При отсутствии резонансных явлений вынужденные колебания очесывающей гребенки будут являться гармоническими с постоянной амплитудой и частотой, равной частоте колебания выходного звена вибропривода.
Отмечено, что при близких значениях √k и ω имеет место случай резонанса, то есть возрастание амплитуды до величин, несоразмерных с амплитудой синусоидальной силы, вызывающей само колебание системы. Параметры системы необходимо выбирать таким образом, чтобы избежать этого негативного, в данном случае, явления.
Об авторах
Владимир Юрьевич Савин
Калужский филиал ФГБОУ ВО «Московский государственный технический университет имени Н.Э. Баумана (национальный исследовательский университет)»
Автор, ответственный за переписку.
Email: savin.study@yandex.ru
ORCID iD: 0000-0002-2476-9768
ResearcherId: D-4378-2019
доцент кафедры тепловых двигателей и гидромашин, кандидат технических наук
Россия, 248000, г. Калуга, ул. Баженова, д. 2Список литературы
- Алдошин, Н. В. Совершенствование конструкции очесывающих устройств для уборки зернобобовых культур / Н. В. Алдошин, М. А. Мосяков. – doi: 10.26897/1728-7936-2018-2-23-27 //Вестник ФГБОУ ВО «Московский государственный агроинженерный университет имени В. П. Горячкина». – 2018. – № 2. – С. 23–27. – Рез. англ.
- Ковлягин, Ф. В. Уборка зерновых культур методом очеса / Ф. В. Ковлягин, Г. Г. Маслов //Механизация и электрификация сельского хозяйства. – 1991. – № 8. – С. 5–6. – URL: https://elibrary.ru/item.asp?id=26520095 (дата обращения: 04.02.2021).
- Савин, В. Ю. Очесывающие устройства для уборки зерновых / В. Ю. Савин, И. В. Горбачев // Сельский механизатор. – 2019. – № 3. – С. 8–10. – URL: http://selmech.msk.ru/319.html#_Очесывающие_устройства_для (дата обращения: 04.02.2021). – Рез. англ.
- Review of Grain Threshing Theory and Technology / J. Fu, Z. Chen, L. Han, L. Ren. – doi: 10.25165/j.ijabe.20181103.3432 // International Journal of Agricultural and Biological Engineering. –2018. – Vol. 11, Issue 3. – Pp. 12–20.
- Жалнин, Э. В. Уборка с очесом на корню: за и против / Э. В. Жалнин // Сельский механизатор. – 2013. – № 8. – С. 10–12. – URL: http://selmech.msk.ru/813.html#_Уборка_с_очесом (дата обращения: 04.02.2021). – Рез. англ.
- Савин, В. Ю. Определение состава очесанного вороха при уборке пшеницы с использованием прицепного очесывающего устройства / В. Ю. Савин. – doi: 10.17238/issn2071-2243.2016.4.96 // Вестник Воронежского государственного аграрного университета. – 2016. – № 4 (51). – С. 96–99. – Рез. англ.
- Патент № 2726110 Российская Федерация, МПК A01D 41/08, A01F 12/00. Очесывающий аппарат : № 2019117319 : заявл. 04.06.2019 : опубл. 09.07.2020 / Савин В. Ю. ; заявитель и патентообладатель Савин В. Ю. – URL: https://yandex.ru/patents/doc/RU2726110C1_20200709 (дата обращения: 04.02.2021). – Рез. англ.
- Сравнительная оценка очесывающих адаптеров различных конструкций / Э. В. Жалнин,А. Т. Табашников, В. А. Анисимов [и др.] // Научно-технический бюллетень Всероссийского научно-исследовательского института механизации сельского хозяйства. – 1992. – № 83. – С. 21–24. –URL: https://elibrary.ru/item.asp?id=25438516 (дата обращения: 04.02.2021).
- Уборка зерновых культур методом очеса / П. А. Шабанов, А. Н. Шокарев, И. К. Голубев [и др.]. – Текст : непосредственный // Техника в сельском хозяйстве. – 1985. – № 8. – С. 12.
- Конструктивные особенности вибрационных транспортно-технологических машин /А. А. Дерябин, Д. Ю. Проскура, А. И. Федорова, С. Д. Угрюмова // Научные труды Дальрыбвтуза. – 2014. – Т. 32. – С. 117–121. – URL: https://nauch-tr.dalrybvtuz.ru/images/Issues/32/32_16.pdf (дата обращения: 04.02.2021). – Рез. англ.
- Шурлаков, М. А. Проведение исследований в области создания новых антифрикционных материалов в узлах трения тяжелых путевых машин / М. А. Шурлаков, С. И. Баташов // Внедрение современных конструкций и передовых технологий в путевое хозяйство. – 2019. – № 14. – С. 115–122. – URL:https://elib.pstu.ru/vufind/EdsRecord/edselr,edselr.38558378 (дата обращения: 04.02.2021). – Рез. англ.
- Experimental and Theoretical Evaluation of Side Tamping Method for Ballasted Railway Track Maintenance / М. Przybylowicz, М. Sysyn, V. Kovalchuk [et al.]. – doi: 10.21307/tp-2020-036 // Transport Problems. – 2020. – Vol. 15, Issue 3. – Pp. 93–106.
- Маслов, Н. А. Модернизация привода спутника путевых машин Duomatic 09-32 CSM и ПМА-1 / Н. А. Маслов // Вестник Сибирского государственного университета путей сообщения. – 2017. – № 1 (40). – С. 57–65. – URL: https://elib.pstu.ru/EdsRecord/edselr,edselr.28351862 (дата обращения: 04.02.2021). – Рез. англ.
- Дударев, А. С. Эффективность вибрационного сверления полимерных композиционных материалов / А. С. Дударев, А. Г. Добринский. – doi: 10.15593/2224-9877/2019.4.05 // Вестник Пермского национального исследовательского политехнического университета. Машиностроение,материаловедение. – 2019. ‒ № 4 (21). – С. 42–48. – Рез. англ.
- Alkhalefah, H. Precise Drilling of Holes in Alumina Ceramic (Al2O3) by Rotary Ultrasonic Drilling and Its Parameter Optimization Using MOGA-II / H. Alkhalefah. – doi: 10.3390/ma13051059. –Текст : электронный // Materials. – 2020. – Vol. 13, Issue 5.
- Савин, В. Ю. Определение усилий, необходимых для очеса колоса пшеницы / В. Ю. Савин. – doi: 10.15507/2658-4123.029.201903.456-466 // Инженерные технологии и системы. – 2019. –№ 3. – С. 456–466. – Рез. англ.
- Липовский, М. И. Обоснование рационального двухфазного обмолота зерновых культур /М. И. Липовский // Технологии и технические средства механизированного производства продукции растениеводства и животноводства. – 2004. – № 76. – С. 25–38. – URL: https://clck.ru/Wdv3W (дата обращения: 04.02.2021).
- Хоанг, К. Л. Кинематика и динамика бесшатунных механизмов преобразования движения /К. Л. Хоанг, А. Ф. Дорохов // Вестник Астраханского государственного технического университета.Серия: Морская техника и технология. – 2015. – № 3. – С. 79–87. – URL: https://clck.ru/WdvCq (дата обращения: 04.02.2021). – Рез. англ.
- Попов, И. П. Диссипативная, реактивная и полная мощности виброприводов машин /И. П. Попов // Вестник Вологодского государственного университета. Серия: Технические науки. –2019. – № 3 (5). – С. 72–74. – URL: https://vestnik.vogu35.ru/docs/2019/tekhnich/3/72.pdf (дата обращения: 04.02.2021). – Рез. англ.






















